LEMON Manuals: Even more car manuals for everyone
Home >> Saab >> 2003 >> 9-3 Vector, Standard >> Repair and Diagnosis >> Engine Performance >> System >> TRIONIC T7 Fuel Control System >> Fault Diagnosis Fault Codes >> DTC P1310: Ignition Discharge Module. Not Powered, Bank 1. >> Notes

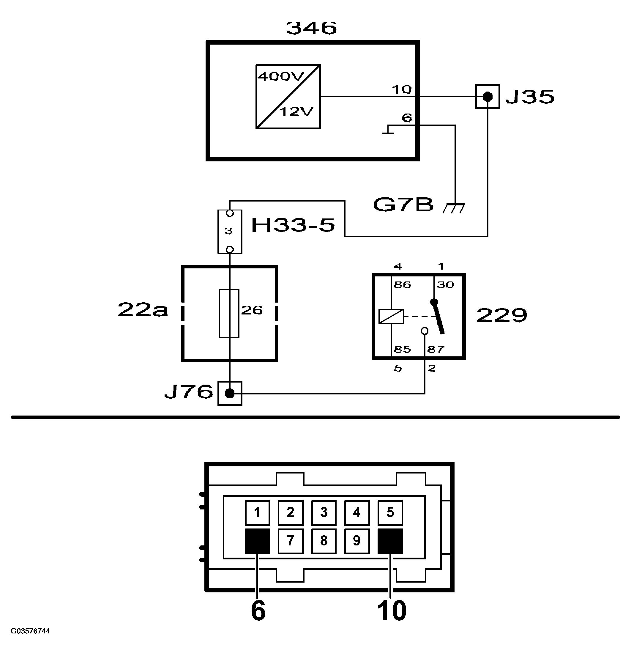
DTC P1310: Ignition Discharge Module. Not Powered, Bank 1.: Notes

Fig 1: Circuit Diagram - Ignition Discharge Module - Not Powered (Bank 1)
G03576744Courtesy of SAAB-SCANIA OF AMERICA, INC.