LEMON Manuals: Even more car manuals for everyone
Home >> Saab >> 2001 >> 9-3 Base, 2D Hatchback, Standard >> Repair and Diagnosis >> Engine Performance >> System >> TRIONIC T7 Fuel Control System >> Technical Description >> Speed, wire from ABS >> Notes

Speed, wire from ABS: Notes

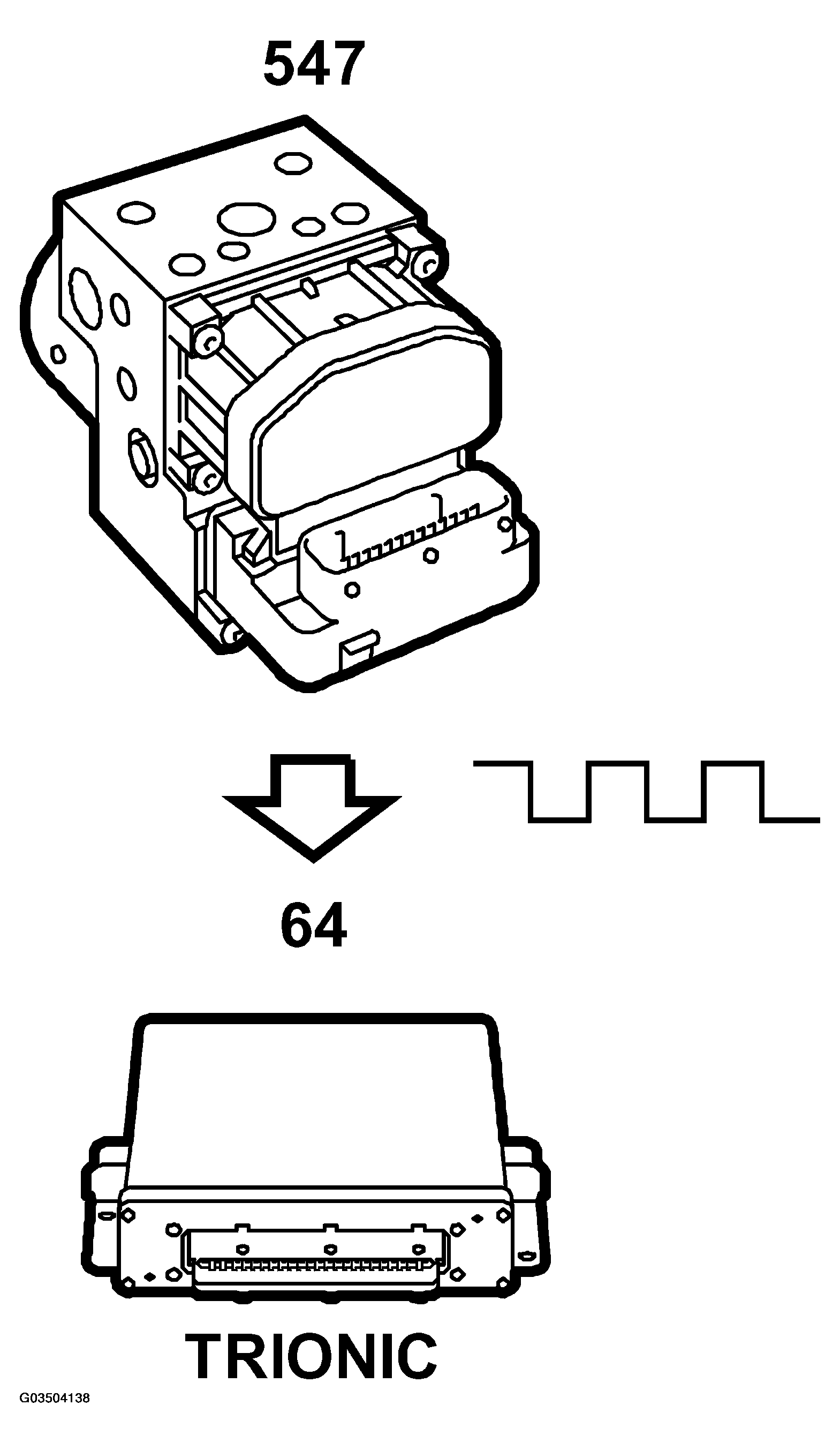
Fig 1: Identifying Speed, Wire From ABS - Control Module Communication Diagram
G03504138Courtesy of SAAB-SCANIA OF AMERICA, INC.
Fig 2: Identifying Speed, Wire From ABS - Control Module Communication Circuit Diagram
G03504139Courtesy of SAAB-SCANIA OF AMERICA, INC.

The ABS control module sends a speed signal to pin 64 on the Trionic T7 control module. The signal is a square wave that varies between 0 V and B+ 29 times per wheel revolution. This speed signal is used to: