LEMON Manuals: Even more car manuals for everyone
Home >> Saab >> 2001 >> 9-3 Base, 2D Hatchback, Standard >> Repair and Diagnosis >> Engine Performance >> System >> TRIONIC T7 Fuel Control System >> Fault diagnosis, fault codes >> DTC P1310: Ignition Discharge Module Not Powered Bank 1 >> Notes

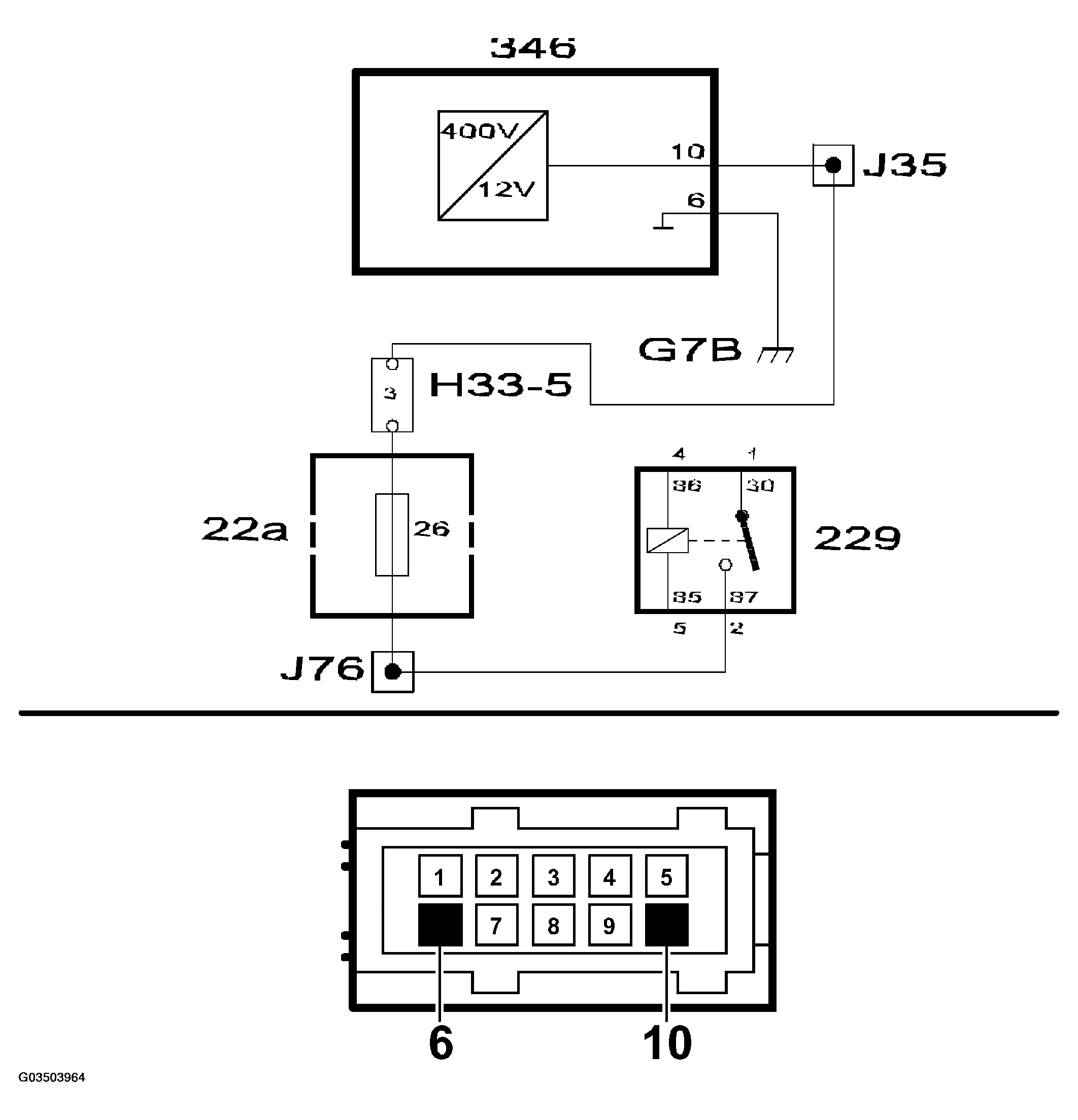
DTC P1310: Ignition Discharge Module Not Powered Bank 1: Notes

Fig 1: Circuit Diagram - Ignition Discharge Module - Not Powered (Bank 1)
G03503964Courtesy of SAAB-SCANIA OF AMERICA, INC.