LEMON Manuals: Even more car manuals for everyone
Home >> Saab >> 1987 >> 900 Base, 2D Convertible, Standard >> Repair and Diagnosis >> Engine Performance >> System >> EGR System >> Testing >> Proportional EGR System

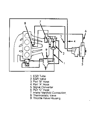
Proportional EGR System

  1. Operate engine to normal operating temperature. Disconnect port "A" hose from signal converter at throttle valve housing. See Figure . Disconnect and plug port "C" hose from signal converter at intake manifold.
  2. Install vacuum pump on hose disconnected from port "A". Operate vacuum pump and note idle speed. If system operation is correct, engine idle should drop.
  3. Reconnect hose to port "C". Operate vacuum pump on hose disconnected from port "A". Engine speed should not be affected with vacuum application. Check EGR valve or thermostatic valve if system fails to operate.