LEMON Manuals: Even more car manuals for everyone
Home >> Porsche >> 2019 >> Cayenne Base >> Repair and Diagnosis (Single Page) >> Collision >> General Collision Information >> 5X - Body General 9YA >> WM, 5X00IN33 Thread Repairs For Threaded Bushes With Collar >> Thread Repairs For Threaded Bushes With Collar

Thread Repairs For Threaded Bushes With Collar

IMPORTANT:
  • The repair bush must be installed recessed. Use the tool from the tool set for milling the relevant shoulder. 
IMPORTANT:
  • While pressing in the base thread, a noticeably larger amount of force on the screw-in tool is required to form the internal thread. Pressing is finished when the screw-in tool can be turned further more easily. 
IMPORTANT:
  • Remove wire thread inserts (Helicoil) that are installed as standard before drilling out. 
  1. Drill out the old thread fully using a drill bit (contained in the set) -B-  .
    G14273984Courtesy of PORSCHE CARS NORTH AMERICA, INC.

    Thread

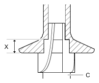
  2. Mill in shoulder using countersink tool -C-  .
    Fig 1: Checking Shoulder Millling Dimension
    G14273985Courtesy of PORSCHE CARS NORTH AMERICA, INC.

    Shoulder

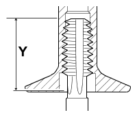
  3. Cut thread.
    1. 3.1  Cut thread to dimension -Y-  using a cutting tool.
    2. 3.2  Clean the thread.
    1. 3.2.1  Blow drill chips out of the thread with compressed air.
    2. 3.2.2  Clean thread with brake cleaner.
    3. 3.2.3  Dry thread by blowing it with compressed air.
    Fig 2: Checking Thread Cutting Dimension
    G14273986Courtesy of PORSCHE CARS NORTH AMERICA, INC.

    Thread

  4. Position threaded bush on screw-in tool.
    1. 4.1  Clean thread on bush and on screw-in tool.
    2. 4.2  Oil the screw-in tool -E-  .
    3. 4.3  Screw threaded bush -A-  onto the screw-in tool -E-  by hand.
    G14273987Courtesy of PORSCHE CARS NORTH AMERICA, INC.

    Threaded bush on screw-in tool

  5. Screw in threaded bush -A-  fully using the screw-in tool -E-  .
    G14273988Courtesy of PORSCHE CARS NORTH AMERICA, INC.

    Threaded bush

  6. Form and press the threaded bush by turning further with the screw-in tool -E-  in the base thread.
    G14273989Courtesy of PORSCHE CARS NORTH AMERICA, INC.

    Threaded bush

  7. Unscrew and remove screw-in tool -E-  from threaded bush.
G14273990Courtesy of PORSCHE CARS NORTH AMERICA, INC.

Screw-in tool