LEMON Manuals: Even more car manuals for everyone
Home >> Porsche >> 2017 >> Panamera Base >> Repair and Diagnosis (Single Page) >> Collision >> General Collision Information >> 5X - Body General >> WM, 5X00IN33 Thread Repairs For Threaded Bushes With Collar >> Thread Repairs For Threaded Bushes With Collar

Thread Repairs For Threaded Bushes With Collar

Information 

Information 

Information 

Information 

  1. Drill out the old thread fully using a drill bit (contained in the set) -B-  .
    G14375705Courtesy of PORSCHE CARS NORTH AMERICA, INC.

    Thread

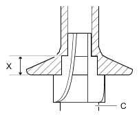
  2. Mill in shoulder using countersink tool -C-  .
    Fig 1: Checking Shoulder Dimension
    G14375706Courtesy of PORSCHE CARS NORTH AMERICA, INC.

    Shoulder

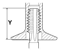
  3. Cut thread.
    1. 3.1 Cut thread to dimension -Y-  using a cutting tool.
    2. 3.2 Clean the thread.
      1. 3.2.1 Blow drill chips out of the thread with compressed air.
      2. 3.2.2 Clean thread with brake cleaner.
      3. 3.2.3 Dry thread by blowing it with compressed air.
    Fig 2: Checking Thread Cutting Dimension
    G14375707Courtesy of PORSCHE CARS NORTH AMERICA, INC.

    Thread

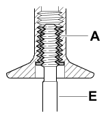
  4. Position threaded bush on screw-in tool.
    1. 4.1 Clean thread on bush and on screw-in tool.
    2. 4.2 Oil the screw-in tool -E-  .
    3. 4.3 Screw threaded bush -A-  onto the screw-in tool -E-  by hand.
    G14375708Courtesy of PORSCHE CARS NORTH AMERICA, INC.

    Threaded bush on screw-in tool

  5. Screw in threaded bush -A-  fully using the screw-in tool -E-  .
    G14375709Courtesy of PORSCHE CARS NORTH AMERICA, INC.

    Threaded bush

  6. Form and press the threaded bush by turning further with the screw-in tool -E-  in the base thread.
    G14375710Courtesy of PORSCHE CARS NORTH AMERICA, INC.

    Threaded bush

  7. Unscrew and remove screw-in tool -E-  from threaded bush.
    G14375711Courtesy of PORSCHE CARS NORTH AMERICA, INC.

    Screw-in tool