LEMON Manuals: Even more car manuals for everyone
Home >> Porsche >> 2009 >> Cayenne Base, Automatic >> Repair and Diagnosis >> Restraints >> Restraints Control Systems >> 69 Occupant Protection/Personal Protection >> WM 691119 Removing And Installing Front Three-Point Belt (All Models) >> Installing Front Three-Point Belt

Installing Front Three-Point Belt

Information 

Always replace the fastening screws on the three-point seat belt. The micro-self-locking screws must not be treated (e.g. greased) or loosened and then screwed on again.

Fig 1: Identifying Front Three-Point Belt
G09412770Courtesy of PORSCHE CARS NORTH AMERICA, INC.
  1. Position belt reel in the mounting opening -A-  , ensuring that the threaded bore is aligned with the thread.
    Fig 2: Positioning Belt Reel In Mounting Opening
    G09412771Courtesy of PORSCHE CARS NORTH AMERICA, INC.
  2. Tighten belt reel with the fastening screw -2-  . → Tightening torque: 50 Nm (37 ft lbs.) 
    Fig 3: Installing Belt Reel Fastening Screw
    G09412772Courtesy of PORSCHE CARS NORTH AMERICA, INC.

    Information 

    • Do not twist the three-point belt when installing! 
  3. Push through belt end mount -A-  and belt buckle -B-  upwards behind the holder.
    Fig 4: Pushing Belt End Mount And Belt Buckle Upwards Behind Holder
    G09412773Courtesy of PORSCHE CARS NORTH AMERICA, INC.
  4. Turn belt lug -arrow C-  and push it upwards behind the holder -arrow D-  .
    Fig 5: Turning Belt Lug
    G09412774Courtesy of PORSCHE CARS NORTH AMERICA, INC.

    Information 

    • Once the fastening screw has been tightened, the belt lug must level out on its own in a vertical position or in the relevant support direction. 
      Fig 6: Locating Belt Lug Mounting Bolts
      G09412775Courtesy of PORSCHE CARS NORTH AMERICA, INC.
  5. Fasten belt lug on the vertical adjustment device with the fastening screw -1-  . → Tightening torque: 37 ftlb  .
    Fig 7: Locating Belt Lug Mounting Bolts
    G09412776Courtesy of PORSCHE CARS NORTH AMERICA, INC.

    Information 

    • When routing the electric wires, ensure that they are not routed through the belt-coiling area. 
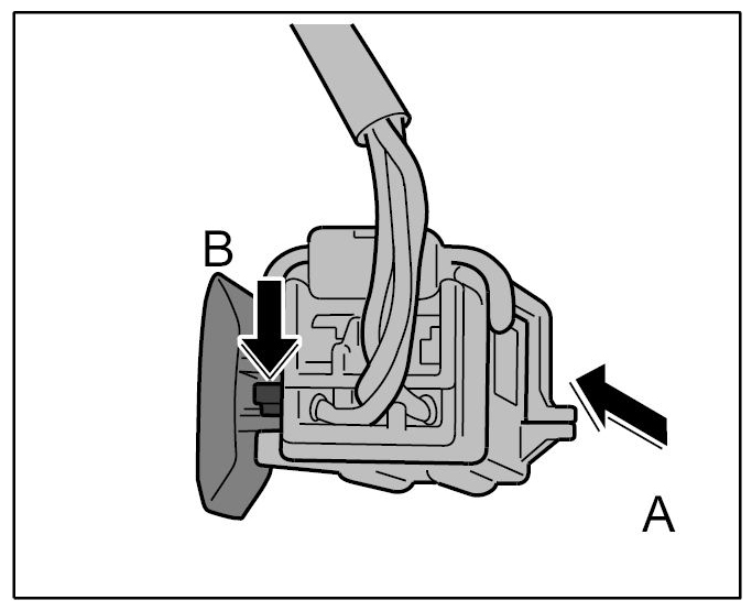
      Fig 8: Removing Electric Wires
      G09412777Courtesy of PORSCHE CARS NORTH AMERICA, INC.
  6. Insert plug -arrow A-  until the lock -B-  is felt to engage.
    Fig 9: Removing Electric Wires
    G09412778Courtesy of PORSCHE CARS NORTH AMERICA, INC.
  7. Push socket onto the clip -arrow A-  until it clicks into place -arrow B-  .
    Fig 10: Pushing Socket Onto Clip
    G09412779Courtesy of PORSCHE CARS NORTH AMERICA, INC.
  8. Push seat belt through the belt guide on the seat -arrow A-  .
    Fig 11: Pushing Seat Belt Through Belt Guide On Seat
    G09412780Courtesy of PORSCHE CARS NORTH AMERICA, INC.
  9. Position belt end fitting on the retaining pin -arrow B-  and pull upward -arrow C-  until the retaining clip locks with an audible click.
    Fig 12: Positioning Belt End Fitting On Retaining Pin
    G09412781Courtesy of PORSCHE CARS NORTH AMERICA, INC.
  10. Engage seat belt cover at seat trim -arrow A-  and push in -arrow B-  until it can be felt to engage.
    Fig 13: Engaging Seat Belt Cover At Seat Trim
    G09412782Courtesy of PORSCHE CARS NORTH AMERICA, INC.
  11. Install inner sill. → Installing Inner Door Sill Trim

    Carry out work instruction after disconnecting the battery. → WM 9000IN WORK INSTRUCTIONS AFTER DISCONNECTING THE BATTERY (ALL MODELS) .

  12. Perform a function test.
    • The belt strap must be fully rolled up when the function test is started.
    • Move the seat belt height adjustment to the highest position.
    • Pull out belt strap completely as far as it will go.
    • Roll up the belt strap again slowly. An audible clattering noise can be heard when you do this.
    • If the rolling-up process is interrupted, the belt strap cannot be pulled out again (permanent belt blockage).
    • The permanent belt blockage feature must be disabled at least 100 mm before the belt strap is completely rolled up in order to ensure that the belt strap can be pulled out again.