LEMON Manuals: Even more car manuals for everyone
Home >> Porsche >> 2000 >> Boxster Base, Standard >> Repair and Diagnosis >> Transmission >> Clutch, Controls >> Clutch Boost Spring: Allocation And Grease Specification >> Boost Spring: Replacement Procedure >> BOXSTER Mod. `98 Partly Mod. `99 (Boost Spring Bracket Can Be Unscrewed)

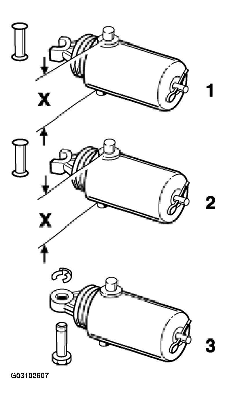
BOXSTER Mod. `98 Partly Mod. `99 (Boost Spring Bracket Can Be Unscrewed)

The standard boost spring No. 2 (push rod on boost spring is open on one side) Spare Part No. 986.423.081.08 is no longer available after existing supplies are used up. The boost spring No.3 986.423.081.11 will be used as a replacement (closed push rod / boost spring painted white). This boost spring should not be lubricated.

Fig 1: Identifying Boost Spring
G03102607Courtesy of PORSCHE OF NORTH AMERICA, INC.

When the boost spring No. 3 is installed for the first time, the optimized clutch pedal 996.423.139. 09 must also be used.

Fig 2: Identifying Optimized Clutch Pedal
G03102608Courtesy of PORSCHE OF NORTH AMERICA, INC.
NOTE:
  • The hexagon bolt 999.423.315.06 and the fuse 999.166.022.02 for connection to the optimized clutch pedal are included in the scope of delivery of the boost spring. This corresponds to the same scope as for the boost spring version No. 3 (from current Mod. `99).