LEMON Manuals: Even more car manuals for everyone
Home >> Porsche >> 2000 >> Boxster Base, Standard >> Repair and Diagnosis >> Transmission >> Clutch, Controls >> Clutch Boost Spring: Allocation And Grease Specification >> 2. Standard Boost Spring Allocation >> BOXSTER Mod. `98 Partly Mod. `99 (Boost Spring Bracket Can Be Unscrewed)

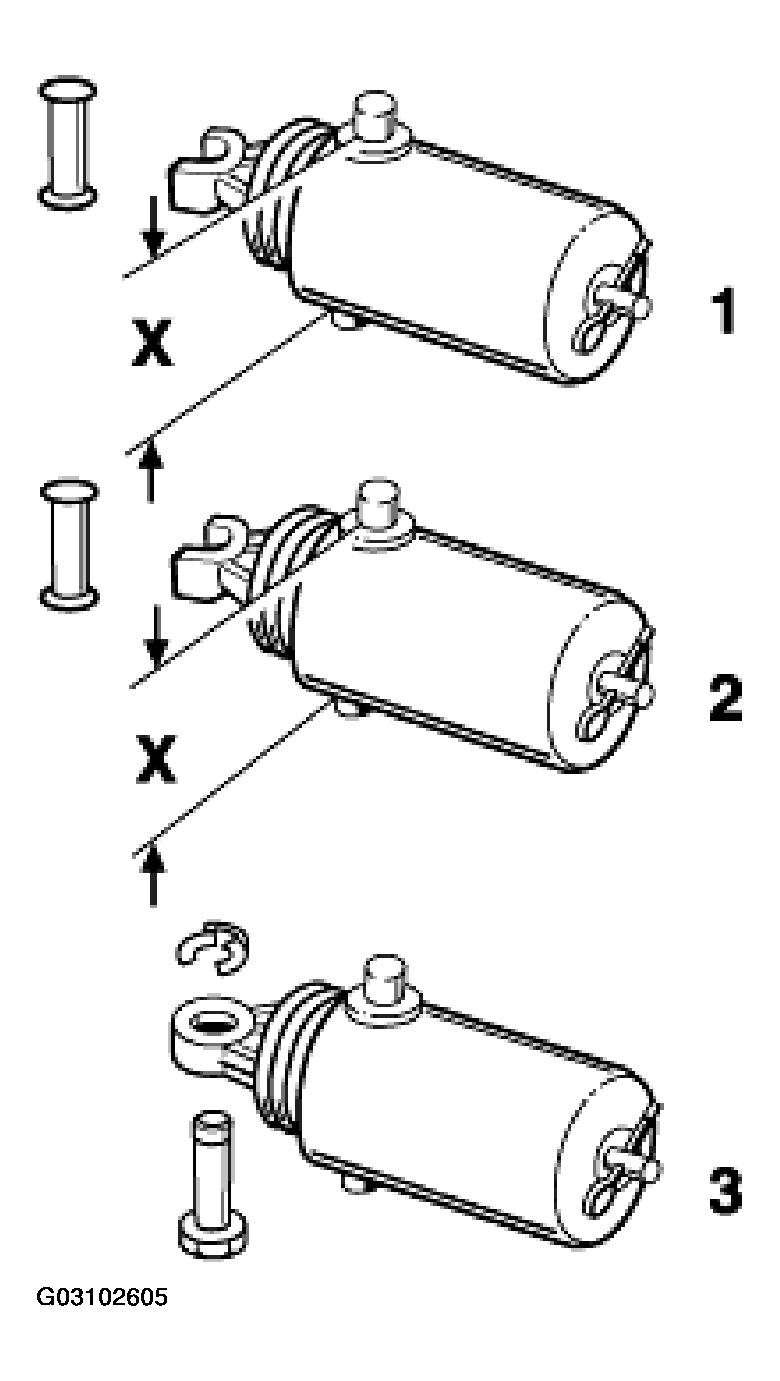
BOXSTER Mod. `98 Partly Mod. `99 (Boost Spring Bracket Can Be Unscrewed)

Boost spring No. 2. Dimension X approx. 42 mm. See Fig 1 .

Boost-spring push rod open on one side. Boost spring with white marking. Observe replacement procedure and grease specification.

Fig 1: Identifying Boost Spring No. 2 Dimension X
G03102605Courtesy of PORSCHE OF NORTH AMERICA, INC.