LEMON Manuals: Even more car manuals for everyone
Home >> Porsche >> 2000 >> Boxster Base, Automatic >> Repair and Diagnosis (Single Page) >> Transmission >> Automatic Trans >> Automatic Transmission, Controls, Case >> Removing And Installing Deflection Lever >> Notes

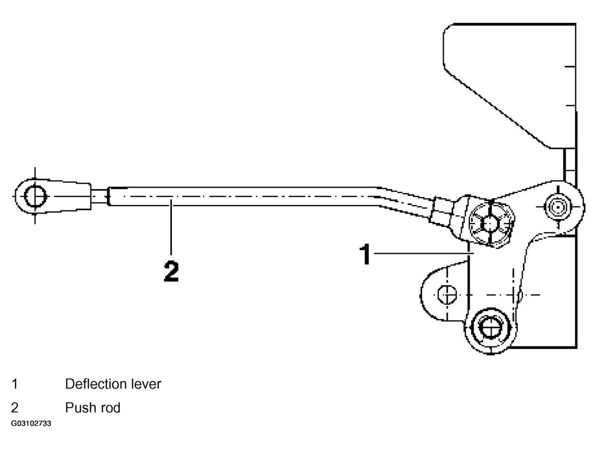
Removing And Installing Deflection Lever: Notes

Fig 1: Identifying Deflection Lever
G03102733Courtesy of PORSCHE OF NORTH AMERICA, INC.