LEMON Manuals
: Even more car manuals for everyone
Home
>>
Porsche
>>
1998
>>
911 Targa
>>
Repair and Diagnosis
>>
Engine Performance
>>
Specifications
>>
Engine Controls - Specifications
>>
Ignition System
>>
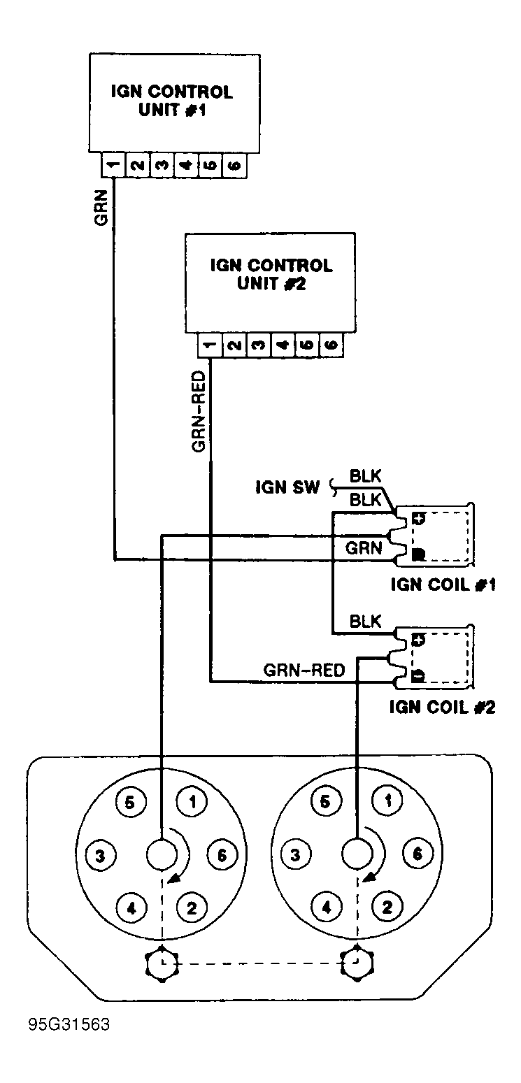
Firing Order
>>
Notes
Firing Order: Notes
NOTE:
For 911 Carrera and 911 Carrera 4 firing order and distributor rotation, See
Figure
-
Figure
.