LEMON Manuals: Even more car manuals for everyone
Home >> Porsche >> 1987 >> 928 Standard >> Repair and Diagnosis >> Engine Performance >> System >> Fuel Injection System - BOSCH LH >> Testing >> Test 2 - EZF Control Unit Power Supply

Test 2 - EZF Control Unit Power Supply

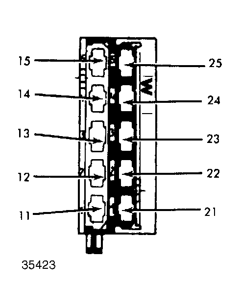
  1. Connect voltmeter on terminals No. 12 and 25 of disconnected EZF ignition control unit plug. Turn ignition switch to the "ON" position. Display should show battery voltage. If no display, go to step 2). If voltage is shown, test is okay.
  2. Connect voltmeter to connected plug "W14" (CEB) and ground. Turn ignition switch to the "ON" position. If no battery voltage is displayed, go to step 3). If battery voltage is shown, test is okay.
  3. Bridge relay No. "XVI" at terminals No. 30 and 87. Connect voltmeter to terminals No. 12 and 25 of disconnected EZF ignition control unit plug. Battery voltage should be shown. If no voltage is shown, repair wiring as necessary. See Fig 1 .
Fig 1: EZF Control Unit Plug & Terminal Locations
G35423