LEMON Manuals: Even more car manuals for everyone
Home >> Pontiac >> 2009 >> Torrent Base, AWD >> Repair and Diagnosis >> External Pages >> Different car >> Section 249 (Wheel Alignment System) >> Description and Operation >> Thrust Angles Description

Thrust Angles Description

WARNING: This page does not describe the selected car, but rather 6 other vehicles, including the 2009 GMC Savana Special, 2009 GMC Savana Camper Special, 2009 GMC Savana, 2009 Chevrolet RV Cutaway, and 2009 Chevrolet Cutaway. However, it is still accessible from the selected car via links, so may be relevant.
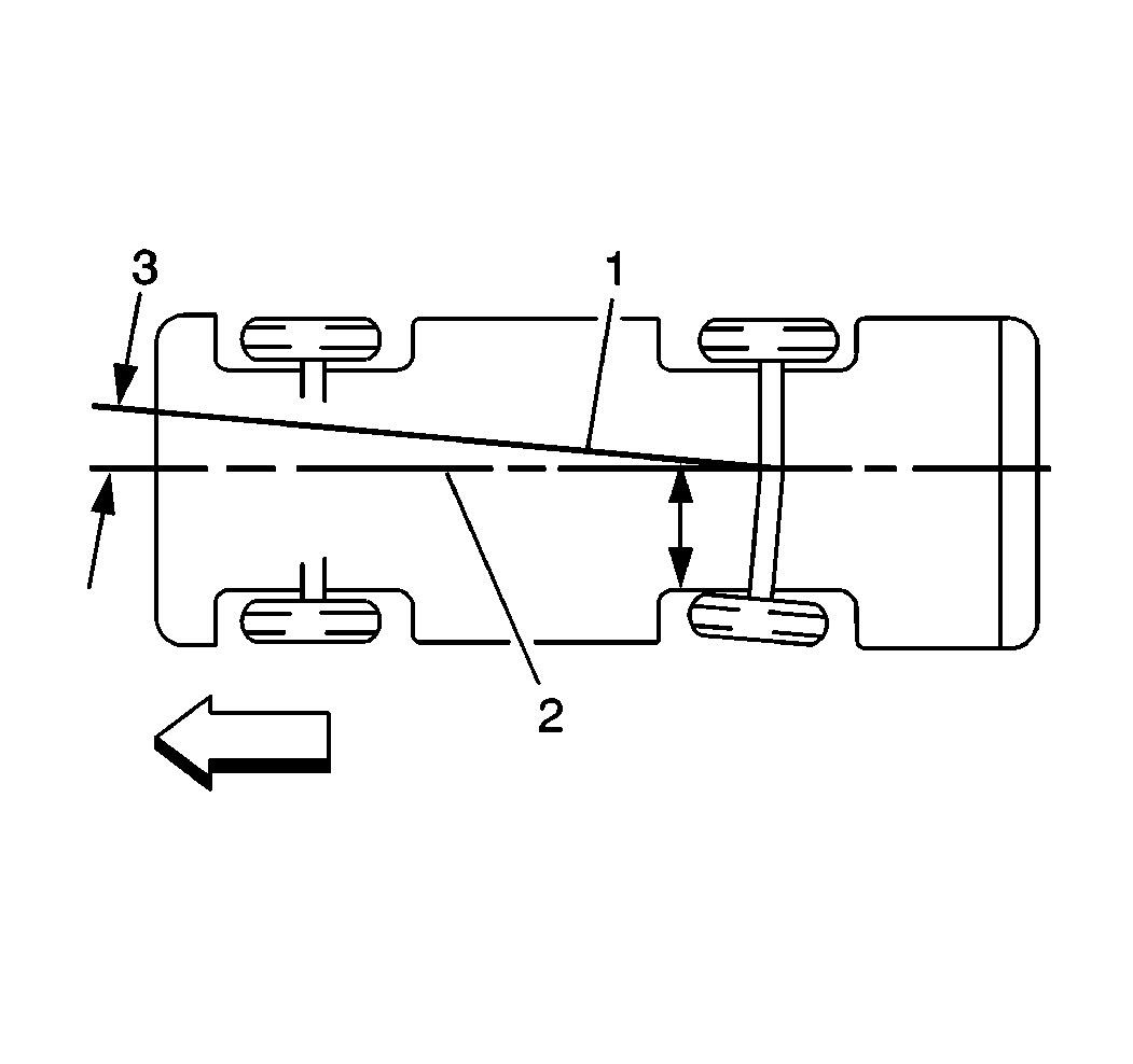
Fig 1: Illustrating Thrust Angles
GM143187Courtesy of GENERAL MOTORS CORP.

The front wheels aim or steer the vehicle. The rear wheels control tracking. This tracking action relates to the thrust angle (3). The thrust angle is the path that the rear wheels take. Ideally, the thrust angle is geometrically aligned with the body centerline (2).

In the illustration, toe-in is shown on the left rear wheel, moving the thrust line (1) off center. The resulting deviation from the centerline is the thrust angle.

If the thrust angle is not set properly the vehicle may "dog track", the steering wheel may not be centered or it could be perceived as a bent axle. Thrust angle can be checked during a wheel alignment.

Positive thrust angle means the thrust line is pointing to the right hand side (RHS) of the vehicle.

Negative thrust angle means the thrust line is pointing to the left hand side (LHS) of the vehicle.

If the thrust angle is out of specification, moving the axle to body relationship will change the thrust angle reading.

If the vehicle is out in the Positive (+) direction-moving the RHS forward and/or LHS rearward will move the thrust angle towards zero degrees.

If the vehicle is out in the Negative (-) direction-moving the RHS rearward and/or LHS forward will move the thrust angle towards zero degrees.