LEMON Manuals: Even more car manuals for everyone
Home >> Pontiac >> 2009 >> G8 Base >> Repair and Diagnosis >> External Pages >> Different car >> Section 548 (Wiring Systems And Power Management - Component Connector End Views - Engine Control Module X2 Through Pressure Control Solenoid) >> Component Connector End Views >> Instrument Panel Cluster (IPC)

Instrument Panel Cluster (IPC)

WARNING: This page is about a different car, the 2011 Cadillac DTS. However, it is still accessible from the selected car via links, so may be relevant.
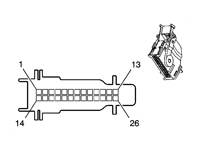
Fig 1: Instrument Panel Cluster (IPC) Connector End View
GM1468761Courtesy of GENERAL MOTORS COMPANY
Instrument Panel Cluster (IPC)

Pin Wire Circuit Function
1 0.35 OG/PK 1840 Battery Positive Voltage
2 0.35 PK 339 Ignition 1 Voltage
3 0.35 D-GN 5060 Low Speed GMLAN Serial Data
4 0.35 D-GN 5060 Low Speed GMLAN Serial Data
5 0.35 BK 350 Ground
6-7 - - Not Used
8 0.35 TN/WH 33 Brake Warning Indicator Control
9 0.35 BN/WH 419 MIL Control
10-11 - - Not Used
12 0.35 D-GN/WH 1358 Driver Information Center Switch Signal
13 0.35 BN 897 Driver Information Center Switch Low Reference
14 0.35 D-BU/WH 5970 Heated Washer Fluid Indicator Control
15-16 - - Not Used
17 0.35 TN 185 Low Washer Fluid Indicator Signal
18-19 - - Not Used
20 0.35 PK 893 Driver Information Center Select Menu Switch Signal
21 0.35 PU 5234 Passenger Seat Belt Indicator
22 0.35 D-BU 2307 Passenger Air Bag On Indicator Control
23 0.35 PK/TN 2308 Passenger Air Bag Off Indicator Control
24 0.35 L-BU 6996 Adaptive Cruise Control Active Signal (K59)
25 0.35 L-GN 6997 Adaptive Cruise Vehicle Ahead Sensor (K59)
26 0.35 L-GN/PU 7050 Adaptive Cruise Control Vehicle Alert Sensor (K59)
Connector Part Information
  • Harness Type: Instrument Panel
  • OEM Connector: 1326042-1
  • Service Connector: 88987996
  • Description: 26-Way M USCAR 2 Class II Series (BK)
Terminal Part Information
  • Terminated Lead: 13575815
  • Release Tool: J-38125-553
  • Diagnostic Test Probe: J-35616-64B (L-BU)
  • Terminal/Tray: 638551-1/16
  • Core/Insulation Crimp: J/J