LEMON Manuals: Even more car manuals for everyone
Home >> Pontiac >> 2009 >> G8 Base >> Repair and Diagnosis (Single Page) >> Quick Lookups >> Wiring Diagrams >> Wiring Systems And Power Management - Electrical Center, Ground & Component Connector End Views >> Component Connector End Views >> Accelerator Pedal Position (APP) Sensor

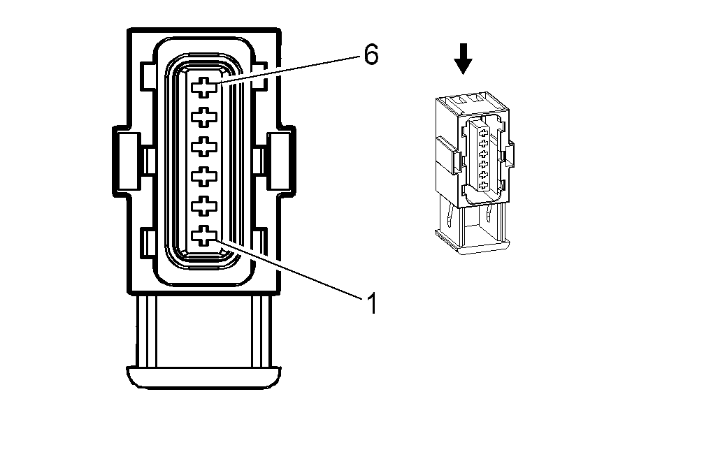
Accelerator Pedal Position (APP) Sensor

Fig 1: Accelerator Pedal Position (APP) Sensor Connector End View
GM1989286Courtesy of GENERAL MOTORS CORP.
Accelerator Pedal Position (APP) Sensor

Pin Wire Color Circuit No. Function
1 0.5 BN/YE 1274 5-Volt Reference
2 0.5 WH/BK 1164 5-Volt Reference
3 0.5 D-BU/WH 1161 APP Sensor 1 Signal
4 0.5 BN 1271 Low Reference
5 0.5 PU 1272 Low Reference
6 0.5 L-BU 1162 APP Sensor 2 Signal
Connector Part Information 
  • OEM: 7283-6463-30
  • Service: See Catalog
  • Description: 6-Way F (BK)
Terminal Part Information 
  • Terminal/Tray: 4-964274-1/25
  • Core/Insulation Crimp: E/A
  • Release Tool/Test Probe: J-38125-560/J-35616-33 (YE)