LEMON Manuals: Even more car manuals for everyone
Home >> Pontiac >> 2009 >> G8 Base >> Repair and Diagnosis (Single Page) >> Quick Lookups >> Electrical Component Locations >> Wiring Systems And Power Management - Electrical Center, Ground & Component Connector End Views >> Component Connector End Views >> Inflatable Restraint Steering Wheel Module X1

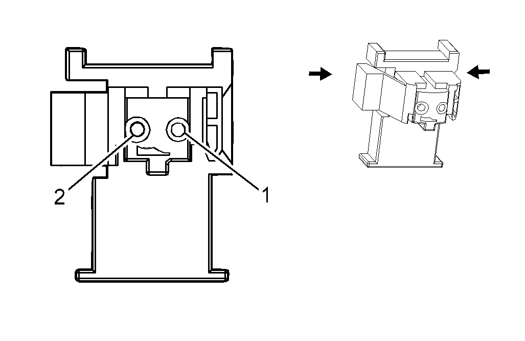
Inflatable Restraint Steering Wheel Module X1

Fig 1: Inflatable Restraint Steering Wheel Module X1 Connector End View
GM1989472Courtesy of GENERAL MOTORS CORP.
Inflatable Restraint Steering Wheel Module X1

Pin Wire Color Circuit No. Function
1 0.3 BN 3020 Steering Wheel Module - Stage1 - Low Control
2 0.3 TN 3021 Steering Wheel Module - Stage1 - High Control
Connector Part Information 
  • OEM: CA-252-92-5-Q
  • Service: See Catalog
  • Description: 2-Way M (OG)
Terminal Part Information 
  • Terminal/Tray: See Terminal Repair Kit
  • Core/Insulation Crimp: See Terminal Repair Kit
  • Release Tool/Test Probe: See Terminal Repair Kit