LEMON Manuals: Even more car manuals for everyone
Home >> Pontiac >> 2009 >> G8 Base >> Repair and Diagnosis (Single Page) >> Quick Lookups >> Electrical Component Locations >> Wiring Systems And Power Management - Electrical Center, Ground & Component Connector End Views >> Component Connector End Views >> Data Link Connector (DLC)

Data Link Connector (DLC)

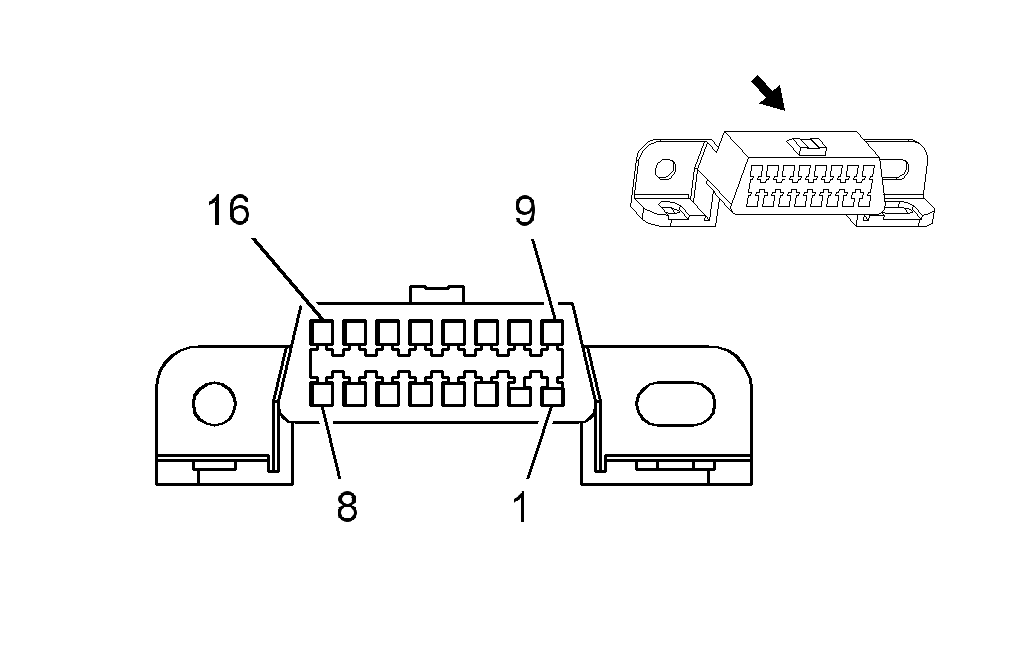
Fig 1: Data Link Connector (DLC) Connector End View
GM1989641Courtesy of GENERAL MOTORS CORP.
Data Link Connector (DLC)

Pin Wire Color Circuit No. Function
1 0.35 D-GN 9200 Low Speed GMLAN Serial Data
2-3 - - Not Used
4 0.3 BK 850 Ground
5 0.3 BK 850 Ground
6 0.5 BN/BK 9004 High Speed GMLAN Serial Data Bus+
0.5 BN/BK 9004 High Speed GMLAN Serial Data Bus+
7-13 - - Not Used
14 0.5 BN 9005 High Speed GMLAN Serial Data Bus-
0.5 BN 9005 High Speed GMLAN Serial Data Bus-
15 - - Not Used
16 0.5 OG/WH 1840 Battery Positive Voltage
Connector Part Information 
  • OEM: 7123-9265-30
  • Service: See Catalog
  • Description: 16-Way F (BK)
Terminal Part Information 
  • Pins: 1, 4, 5, 16
  • Terminal/Tray: 12129484/19
  • Core/Insulation Crimp: E/C
  • Release Tool/Test Probe: 12094429/J-35616-14 (GN)
  • Pins: 6, 14
  • Terminal/Tray: 12129484/19
  • Core/Insulation Crimp: E/C
  • Release Tool/Test Probe: 12094429/J-35616-14 (GN)