LEMON Manuals: Even more car manuals for everyone
Home >> Pontiac >> 2009 >> G8 Base >> Repair and Diagnosis (Single Page) >> Electrical >> Component Locations >> Wiring Systems And Power Management - Electrical Center, Ground & Component Connector End Views >> Component Connector End Views >> Engine Control Module (ECM) (LY7) X2

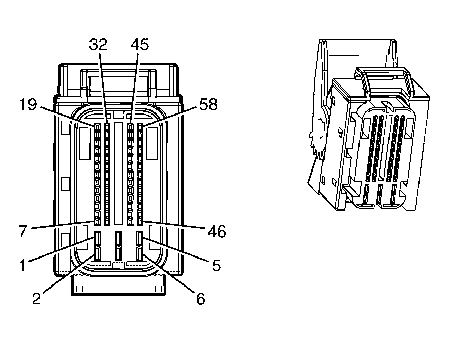
Engine Control Module (ECM) (LY7) X2

Fig 1: Engine Control Module (ECM) (LY7) X2 Connector End View
GM1989339Courtesy of GENERAL MOTORS CORP.
Engine Control Module (ECM) (LY7) X2

Pin Wire Color Circuit No. Function
1 0.5 BK 450 Ground
2 0.5 BK 450 Ground
3 0.75 PK/BU 5290 Ignition 1 Voltage
4 0.5 BK 450 Ground
5 0.75 PK/BU 5290 Ignition 1 Voltage
6 0.75 PK/BU 5290 Ignition 1 Voltage
7 0.75 GY/WH 3122 HO2S Heater Low Control (Bank 1 Sensor 2)
8 - - Not Used
9 0.5 BN/YE 452 Low Reference
10 0.5 D-GN/WH 465 Fuel Pump Relay Control (Primary)
11 0.5 BN/GN 2759 Low Reference
12 - - Not Used
13 0.5 YE 492 MAF Sensor Signal
14 0.5 OG/BU 9709 5-Volt Reference
15 0.5 D-BU/WH 1161 APP Sensor 1 Signal
16 - - Not Used
17 0.5 OG/BK 1786 Park/Neutral Signal
18 - - Not Used
19 0.5 WH 1310 Fuel System Cannister Vent
20 0.75 OG/WH 3223 HO2S Heater Low Control (Bank 2 Sensor 2)
21 0.5 BN/WH 419 MIL Control
22 0.5 BN/WH 2760 Low Reference
23 0.5 BN/GN 3121 HO2S Low Signal (Bank 1 Sensor 2)
24 0.5 BN/RD 3221 HO2S Low Signal (Bank 2 Sensor 2)
25 0.5 L-BU 1162 APP Sensor 2 Signal
26 0.5 L-BU 1937 Fuel Level Sensor Signal (1)
27 0.5 D-GN 890 Fuel Pressure Signal
28-33 - - Not Used
34 0.5 BN 1271 Low Reference
35 0.5 GY 2709 5-Volt Reference
36 0.5 PU 1589 Fuel Level Sensor Signal (2)
37 - - Not Used
38 0.5 PU 3120 HO2S High Signal (Bank 1 Sensor 2)
39 0.5 OG/BK 380 A/C Refrigerant Pressure Sensor Signal
40 - - Not Used
41 0.5 D-BU 5985 Accessory Wakeup Serial Data
42 0.5 BN/BK 9000 High Speed GMLAN Serial Data Bus+
43-44 - - Not Used
45 0.5 D-BU/BK 473 High Speed Cooling Fan Relay Control
46 0.5 D-GN 335 Low Speed Cooling Fan Relay Control
47 0.5 PU 1272 Low Reference
48 0.5 BN/YE 1274 5-Volt Reference
49 0.5 WH/BK 1164 5-Volt Reference
50 0.5 BN/RD 472 IAT Sensor Signal
51 0.5 PU 3220 HO2S High Signal (Bank 2 Sensor 2)
52 0.5 WH/BU 17 Stop Lamp Switch Signal
53 - - Not Used
54 0.5 PK 439 Ignition 1 Voltage
55 0.5 BN 9001 High Speed GMLAN Serial Data Bus-
56 O0.75 G/BK 540 Battery Positive Voltage
57 0.5 YE 447 Starter Relay Coil Control
58 0.5 BN 5069 Main Relay Control
Connector Part Information 
  • OEM: 7283-3487-30
  • Service: See Catalog
  • Description: 58-Way F (BK)
Terminal Part Information 
  • Pins: 1-6
  • Terminal/Tray: 1928498056/8
  • Core/Insulation Crimp: E/1
  • Release Tool/Test Probe: J-38125-561/J-35616-35 (VT)
  • Pins: 7, 9-11, 13-15, 17, 19-27, 34-39, 41, 42, 45-52, 54-58
  • Terminal/Tray: 1928498135/19
  • Core/Insulation Crimp: J/J
  • Release Tool/Test Probe: J-38125-213/J-35616-64B (L-BU)