LEMON Manuals: Even more car manuals for everyone
Home >> Pontiac >> 2009 >> G3 Automatic >> Repair and Diagnosis >> External Pages >> Different car >> Section 185 (Wiring Systems And Power Management - Component Connector End Views - Turn Signal Through Windshield Wiper Switch) >> Component Connector End Views >> Windshield Wiper/Washer Switch X2 (WHB with C25) Connector End View

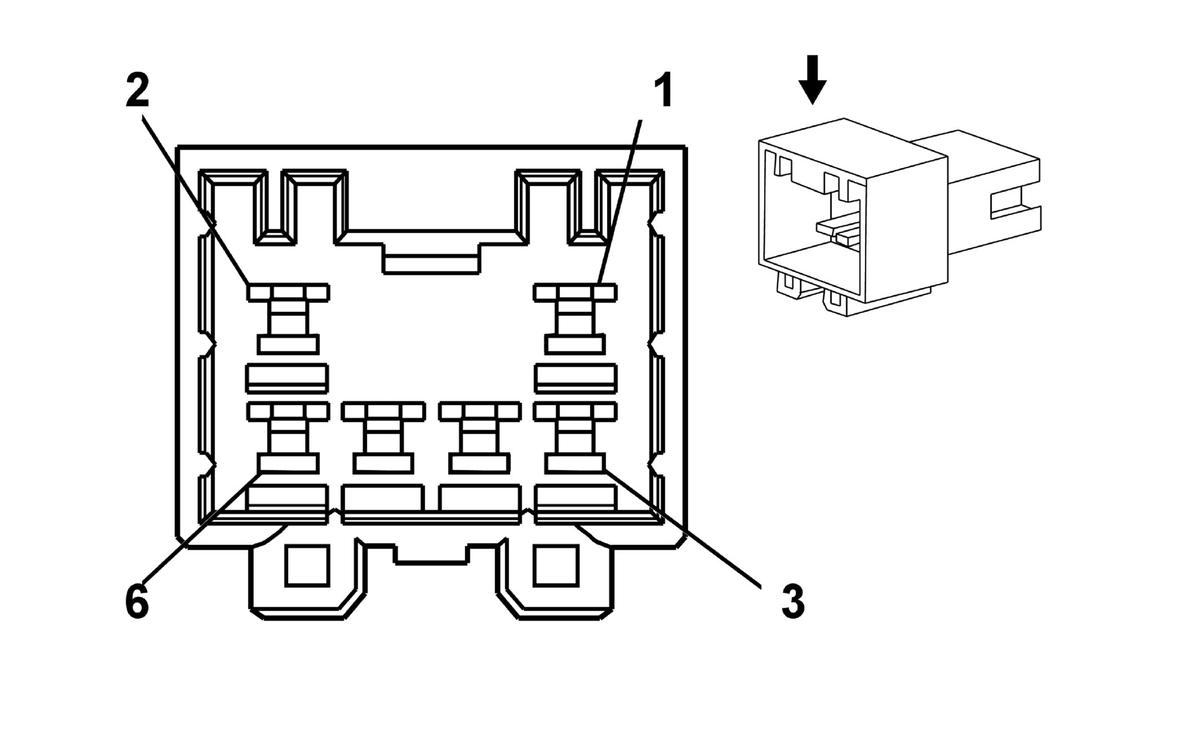
Windshield Wiper/Washer Switch X2 (WHB with C25) Connector End View

WARNING: This page is about a different car, the 2011 Chevrolet Aveo. However, it is still accessible from the selected car via links, so may be relevant.
Fig 1: Windshield Wiper/Washer Switch X2 (WHB with C25) Connector End View
GM1849805Courtesy of GENERAL MOTORS CORP.
Windshield Wiper/Washer Switch X2 (WHB with C25)

Pin Wire Circuit Function
1 PK 639 Ignition 1 Voltage
2 BN 450 Ground
3 GY 393 Rear Window Wiper Motor Control
4 L-GN/BK 392 Rear Window Washer Pump Control
5 D-BU 58 Right Cornering Lamp Supply Voltage
6 YE 112 Windshield Wiper Switch Signal 1
Connector Part Information 
  • OEM: 936271-1
  • Service: N/A
  • Description: 6-Way M, (NA)
Terminal Part Information 
  • Terminated Lead: Service by Harness - See Part Catalog
  • Release Tool: Not Available
  • Diagnostic Test Probe: Not Available
  • Terminal/Tray: Not Available
  • Core/Insulation Crimp: Not Available