LEMON Manuals: Even more car manuals for everyone
Home >> Pontiac >> 2009 >> G3 Automatic >> Repair and Diagnosis >> External Pages >> Different car >> Section 185 (Wiring Systems And Power Management - Component Connector End Views - Turn Signal Through Windshield Wiper Switch) >> Component Connector End Views >> Window Switch - Passenger (AE3/A32) Connector End View

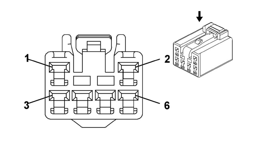
Window Switch - Passenger (AE3/A32) Connector End View

WARNING: This page is about a different car, the 2011 Chevrolet Aveo. However, it is still accessible from the selected car via links, so may be relevant.
Fig 1: Window Switch - Passenger (AE3/A32) Connector End View
GM1908545Courtesy of GENERAL MOTORS CORP.
Window Switch - Passenger (AE3/A32)

Pin Wire Circuit Function
1 L-BU 166 Power Window Master Switch Right Front Up Signal
2 PU 167 Power Window Master Switch Right Front Down Signal
3 D-BU 666 Power Window Motor Right Front Up Control
4 D-BU 1307 Power Window Master Switch Lockout Signal
5 - - Not Used
6 BN 667 Power Window Motor Right Front Down Control
Connector Part Information 
  • OEM: MG 612228
  • Service: N/A
  • Description: 6-Way F, (WH)
Terminal Part Information 
  • Terminated Lead: Service by Harness - See Part Catalog
  • Release Tool: Not Available
  • Diagnostic Test Probe: Not Available
  • Terminal/Tray: Not Available
  • Core/Insulation Crimp: Not Available