LEMON Manuals: Even more car manuals for everyone
Home >> Pontiac >> 2009 >> G3 Automatic >> Repair and Diagnosis >> External Pages >> Different car >> Section 185 (Wiring Systems And Power Management - Component Connector End Views - Turn Signal Through Windshield Wiper Switch) >> Component Connector End Views >> Window Motor - Passenger (AE3/A32) Connector End View

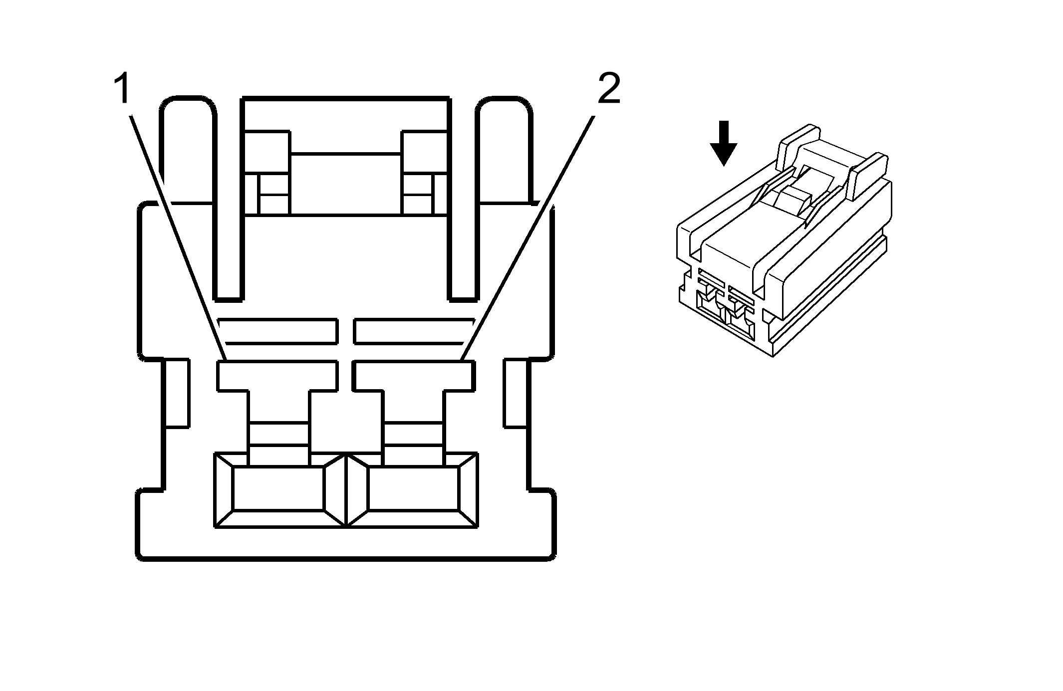
Window Motor - Passenger (AE3/A32) Connector End View

WARNING: This page is about a different car, the 2011 Chevrolet Aveo. However, it is still accessible from the selected car via links, so may be relevant.
Fig 1: Window Motor - Passenger (AE3/A32) Connector End View
GM1413001Courtesy of GENERAL MOTORS CORP.
Window Motor - Passenger (AE3/A32)

Pin Wire Circuit Function
1 BN 667 Power Window Motor Right Front Down Control
2 D-BU 666 Power Window Motor Right Front Up Control
Connector Part Information 
  • OEM: 936224-1
  • Service: N/A
  • Description: 2-Way F, (NA)
Terminal Part Information 
  • Terminated Lead: Service by Terminal Replacement Only
  • Release Tool: 12094429
  • Diagnostic Test Probe: J-35616-33 (YE)
  • Terminal/Tray: 7116-1472/12
  • Core/Insulation Crimp: C/5