LEMON Manuals: Even more car manuals for everyone
Home >> Pontiac >> 2009 >> G3 Automatic >> Repair and Diagnosis >> External Pages >> Different car >> Section 177 (Wiring Systems And Power Management - Component Connector End Views - Fuel Injector Through Ignition Module) >> Component Connector End Views >> HVAC Control Module (without C68) Connector End View

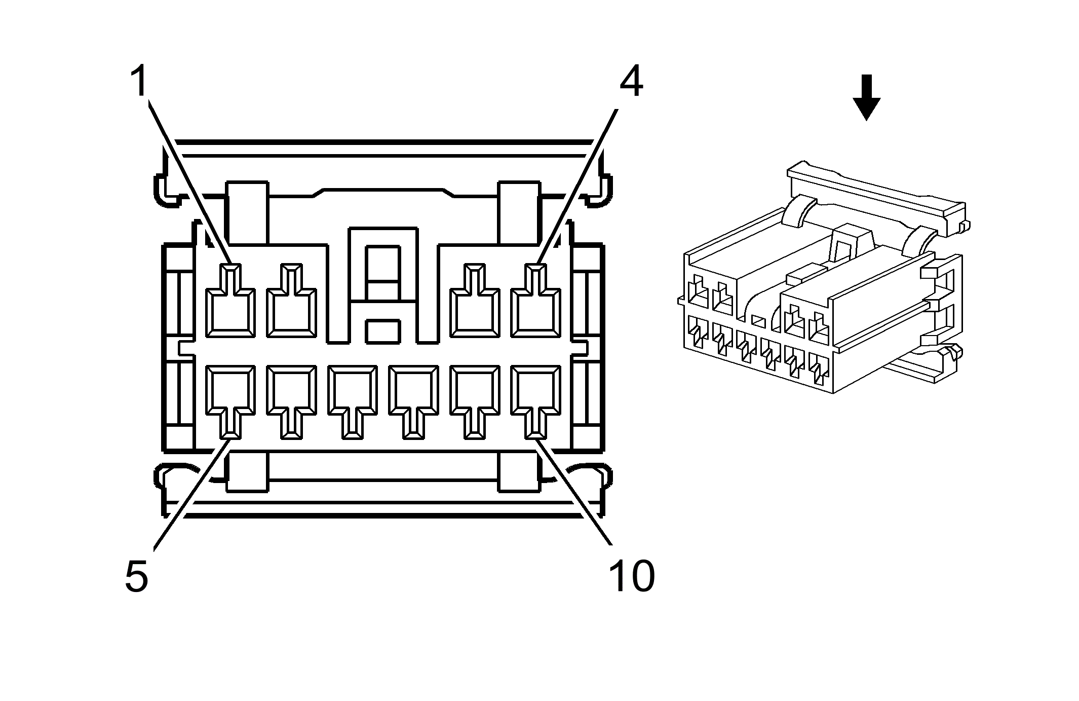
HVAC Control Module (without C68) Connector End View

WARNING: This page is about a different car, the 2011 Chevrolet Aveo. However, it is still accessible from the selected car via links, so may be relevant.
Fig 1: HVAC Control Module (without C68) Connector End View
GM2178589Courtesy of GENERAL MOTORS CORP.
HVAC Control Module (without C68)

Pin Wire Circuit Function
1 PK 239 Ignition 1 Voltage
2 BK 650 Ground
3 BN/WH 309 Right Park Lamp Supply Voltage
4 D-GN 230 Instrument Panel Lamps Dimming Control
5 OG 362 Upper Mode Valve Solenoid Control
6 D-GN/WH 762 A/C Request Signal (C60)
7 PK/WH 1648 Recirculation Door Control A (C60)
8 L-GN/BK 1647 Recirculation Door Control B (C60)
9 L-BU 292 Rear Defog Switch Signal (DWT)
WH 193 Rear Defog Relay Control (without Z5U)
10 OG 267 Heated Mirror/Rear Defog Relay Coil Supply Voltage (Z5U)
RD/WH 540 Battery Positive Voltage (without Z5U)
Connector Part Information 
  • OEM: MG 610404
  • Service: N/A
  • Description: 10-Way F 090 II Series (WH)
Terminal Part Information 
  • Terminated Lead: Service by Terminal Replacement Only
  • Release Tool: 15315247
  • Diagnostic Test Probe: J-35616-16 (L-GN)
  • Terminal/Tray: 175266-5/15
  • Core/Insulation Crimp: (0.35 wire) - J/J
  • Core/Insulation Crimp: (0.5 wire) - K/K