LEMON Manuals: Even more car manuals for everyone
Home >> Pontiac >> 2009 >> G3 Automatic >> Repair and Diagnosis >> External Pages >> Different car >> Section 176 (Wiring Systems And Power Management - Component Connector End Views - DLC Through Fuel Injector) >> Component Connector End Views >> Engine Control Module (ECM) X1 (LDT) Connector End View

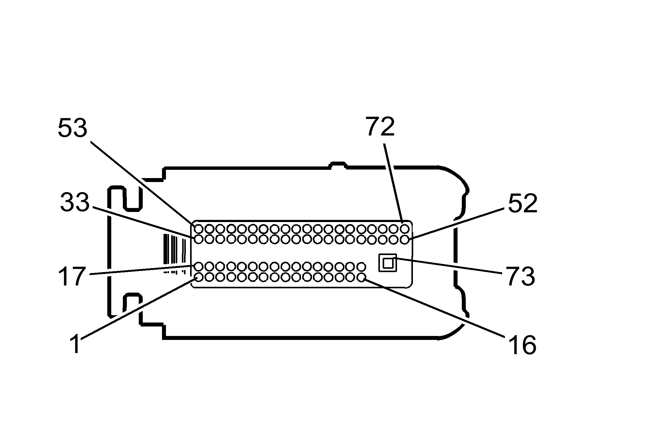
Engine Control Module (ECM) X1 (LDT) Connector End View

WARNING: This page is about a different car, the 2011 Chevrolet Aveo. However, it is still accessible from the selected car via links, so may be relevant.
Fig 1: Engine Control Module (ECM) X1 (LDT) Connector End View
GM1671569Courtesy of GENERAL MOTORS CORP.
Engine Control Module (ECM) X1 (LDT)

Pin Wire Circuit Function
1 RD/WH 440 Battery Positive Voltage
2 - - Not Used
3 PK 539 Ignition 1 Voltage
4-9 - - Not Used
10 L-BU 830 Rough Road Sensor Signal
11 YE 873 Rough Road Sensor Return
12 WH 1162 APP Sensor 1 Signal
13 GY 121 Engine Speed Signal
14-15 - - Not Used
16 YE 710 Low Speed GMLAN Serial Data
17 - - Not Used
18 BN 20 Brake Switch Signal
19-21 - - Not Used
22 OG 1733 Ignition 1 Voltage
23-24 - - Not Used
25 PU 203 A/C Request Signal (C60/C68)
26 - - Not Used
27 D-BU 1161 APP Sensor 2 Signal
28 BN/BK 1030 Fuel Tank Pressure (FTP) Sensor Signal
29 - - Not Used
30 BN 413 Heated Oxygen Sensor (HO2S) 1 Hi Signal
31 - - Not Used
32 PU 1807 High Speed GMLAN Serial Data
33-34 - - Not Used
35 GY 596 5-Volt Reference 2
36 GY 474 5-Volt Reference 1
37 BN 1937 Low Reference
38 - - Not Used
39 YE 645 Low Reference
40 BN 415 Engine Coolant Temperature Sensor 2 Signal
41 L-BU 817 Vehicle Speed Signal
42-44 - - Not Used
45 L-BU 834 Low Reference
46 BN 1671 Oxygen Sensor 2 Heater Low Control
47 - - Not Used
48 BN 419 Malfunction Indicator Lamp Control
49 GY 1936 Fuel Level Sensor Signal
50 - - Not Used
51 PU/WH 67 A/C Compressor Clutch Coil Supply Voltage (C60/C68)
52 WH 30 Fuel Gauge Control
53 - - Not Used
54 D-GN/WH 718 Low Reference
55 WH 1977 Low Reference
56-57 - - Not Used
58 L-BU 1031 5-Volt Reference 2
59 BN 1937 Low Reference
60 YE 1578 EVAP Canister Purge Solenoid Control
61 - - Not Used
62 BN 441 MAIN Relay Control
63-64 - - Not Used
65 D-GN/WH 762 A/C Request Signal (C60/C68)
66 D-BU 473 Ignition Coil B Control
67 GY/D-GN 355 Oxygen Sensor 1 Heater Low Control
68 WH 135 Ground
69-70 - - Not Used
71 L-GN 497 Fuel Pump Relay Control
72 BK/WH 2051 Serial Data Signal
73 BK 50 Ground
Connector Part Information 
  • OEM: 15452126
  • Service: 88988931
  • Description: 73-Way F, Sealed (BK)
Terminal Part Information 
  • Pin: 73
  • Terminated Lead: Not Available
  • Release Tool: 12094430
  • Diagnostic Test Probe: J-35616-4A (PU)
  • Terminal/Tray: 7116-4151-02/9
  • Core/Insulation Crimp: C/1
  • Wire Size: 0036
  • Terminated Lead: 13575810
  • Release Tool: J-38125-213
  • Diagnostic Test Probe: J-35616-64B (L-BU)
  • Terminal/Tray: 33467-0003/23
  • Core/Insulation Crimp: H/H
  • Wire Size: 0.5-0.8
  • Terminated Lead: Not Available
  • Release Tool: J-38125-213
  • Diagnostic Test Probe: J-35616-64B (L-BU)
  • Terminal/Tray: 33467-0005/23
  • Core/Insulation Crimp: (0.5 Wire) - J/J
  • Core/Insulation Crimp: (0.8 Wire) - K/K