LEMON Manuals: Even more car manuals for everyone
Home >> Pontiac >> 2009 >> G3 Automatic >> Repair and Diagnosis >> External Pages >> Different car >> Section 176 (Wiring Systems And Power Management - Component Connector End Views - DLC Through Fuel Injector) >> Component Connector End Views >> Electronic Brake Control Module (EBCM) (JM4) Connector End View

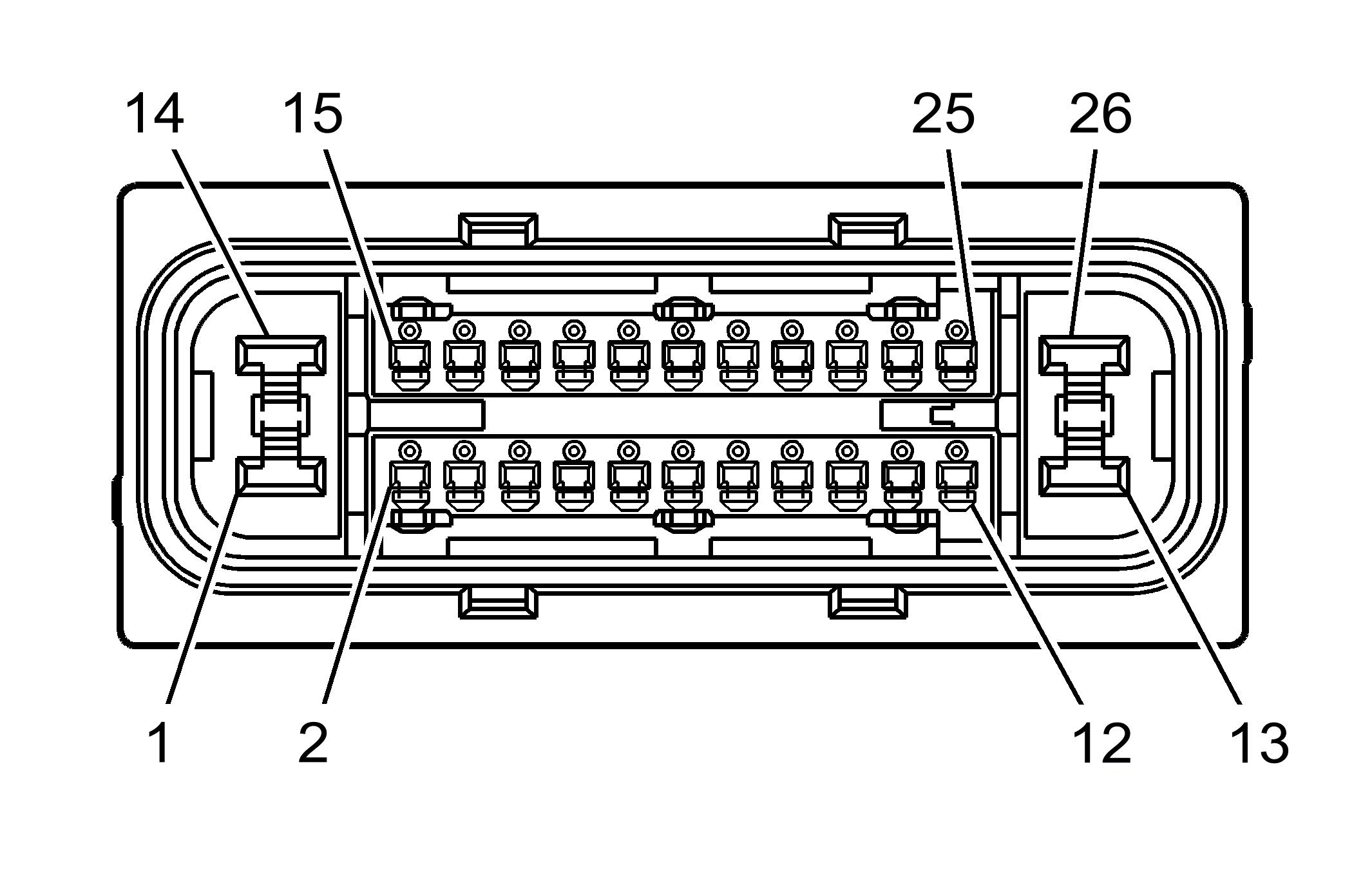
Electronic Brake Control Module (EBCM) (JM4) Connector End View

WARNING: This page is about a different car, the 2011 Chevrolet Aveo. However, it is still accessible from the selected car via links, so may be relevant.
Fig 1: Electronic Brake Control Module (EBCM) (JM4) Connector End View
GM1883720Courtesy of GENERAL MOTORS CORP.
Electronic Brake Control Module (EBCM) (JM4)

Pin Wire Circuit Function
1 RD 40 Battery Positive Voltage
2 BN 884 Left Rear Wheel Speed Sensor Signal
3 OG 885 Left Rear Wheel Speed Sensor Low Reference
4 - - Not Used
5 BN 833 Right Front Wheel Speed Sensor Low Reference
6 D-GN 872 Right Front Wheel Speed Sensor Signal
7 - - Not Used
8 L-BU 830 Left Front Wheel Speed Sensor Signal
9 YE 873 Left Front Wheel Speed Sensor Low Reference
10 L-GN/BK 867 ABS Indicator Failure Control
11 WH 883 Right Rear Wheel Speed Sensor Low Reference
12 BN 882 Right Rear Wheel Speed Sensor Signal
13 BK 50 Ground
14 RD 40 Battery Positive Voltage
15 - - Not Used
16 L-BU 20 Stop Lamp Supply Voltage
17 - - Not Used
18 BK/WH 2051 Serial Data Signal
19 L-BU 834 Vehicle Speed Signal (without WHB)
20 PK 539 Ignition 1 Voltage
21-25 - - Not Used
26 BK 50 Ground
Connector Part Information 
  • OEM: 1612683-2
  • Service: N/A
  • Description: 26-Way F Sealed, (BK)
Terminal Part Information 
  • Pins: 1, 13, 14, 26
  • Terminated Lead: Service by Terminal Replacement Only
  • Release Tool: 15315247
  • Diagnostic Test Probe: J-35616-4A (PU)
  • Terminal/Tray: 15304720/19
  • Core/Insulation Crimp: 4/5
  • Pins: 2-12, 15-25
  • Terminated Lead: Service by Terminal Replacement Only
  • Release Tool: J-38125-215A
  • Diagnostic Test Probe: J-35616-64B (L-BU)
  • Terminal/Tray: SAITS-A03T-M064/14
  • Core/Insulation Crimp: 9/9