LEMON Manuals: Even more car manuals for everyone
Home >> Pontiac >> 2009 >> G3 Automatic >> Repair and Diagnosis >> External Pages >> Different car >> Section 100 (Wiring Systems And Power Management - Component Connector End Views - A/C Through DLC) >> Component Connector End Views >> Clock Connector End View

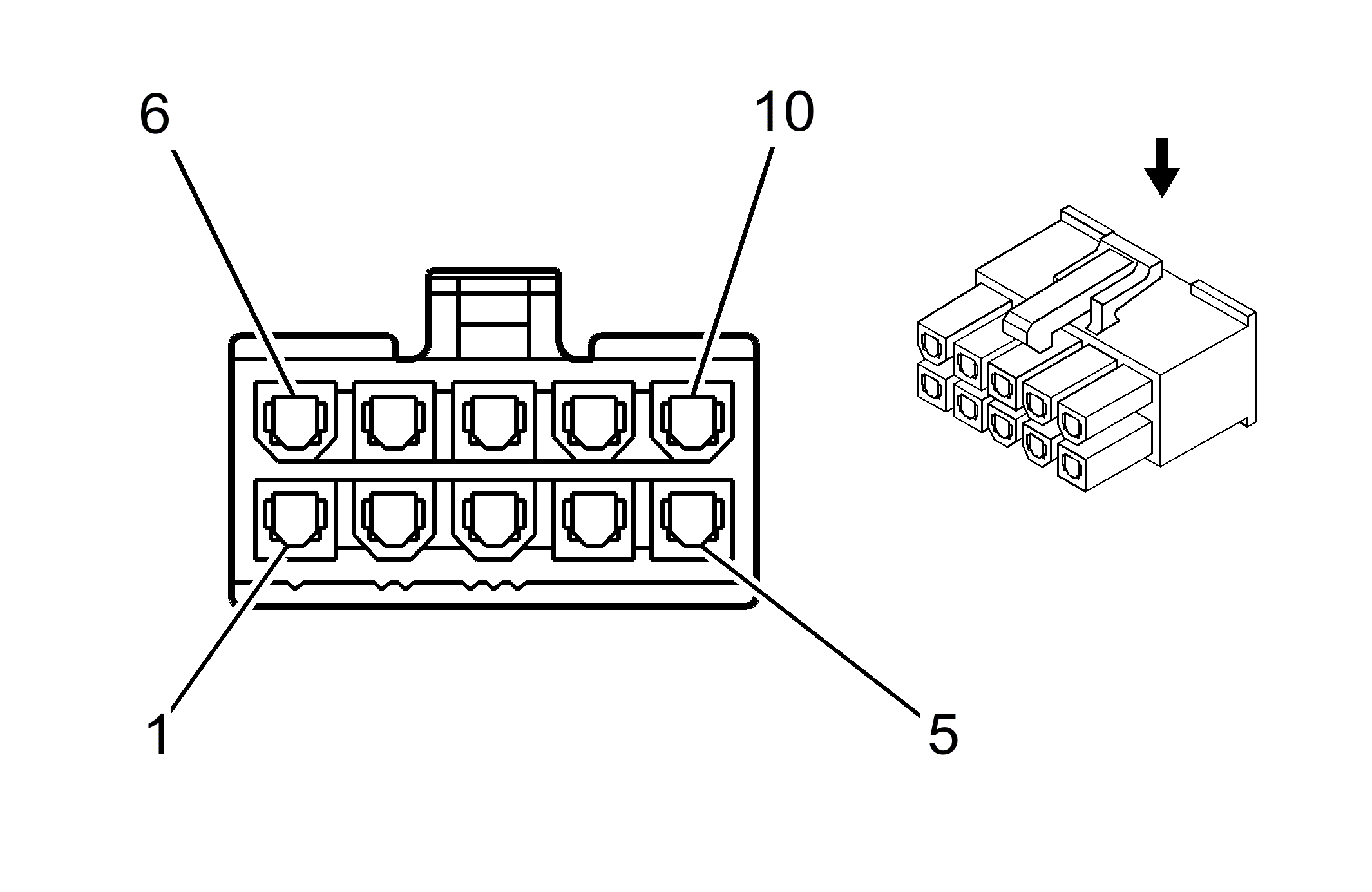
Clock Connector End View

WARNING: This page is about a different car, the 2011 Chevrolet Aveo. However, it is still accessible from the selected car via links, so may be relevant.
Fig 1: Clock Connector End View
GM1455867Courtesy of GENERAL MOTORS CORP.
Clock

Pin Wire Circuit Function
1 D-GN/WH 1358 DIC Switch Signal (AJ3 without WHB)
2 - - Not Used
3 YE 749 Security Indicator Control
4 GY/BK 1357 Passenger Air Bag ON Indicator Control (WHB with AJ3)
5 D-GN/WH 1358 DIC Switch Signal (AJ3)
6 PK 139 Ignition 1 Voltage
7 BN/WH 309 Right Park Lamp Supply Voltage
8 YE 43 Accessory Voltage
9 BK 650 Ground
10 RD/WH 540 Battery Positive Voltage
Connector Part Information 
  • OEM: 5557-10R
  • Service: N/A
  • Description: 10-Way F, (NA)
Terminal Part Information 
  • Terminated Lead: Service by Harness - See Part Catalog
  • Release Tool: J-38125-560
  • Diagnostic Test Probe: J-35616-12 (BU)
  • Terminal/Tray: Not Available
  • Core/Insulation Crimp: Not Available