LEMON Manuals: Even more car manuals for everyone
Home >> Pontiac >> 2008 >> Torrent Base, AWD >> Repair and Diagnosis >> Electrical >> Component Locations >> Wiring Systems And Power Management - Component Views & Component Connector End Views >> Electrical Center Identification Views >> Fuse Block - Instrument Panel X2

Fuse Block - Instrument Panel X2

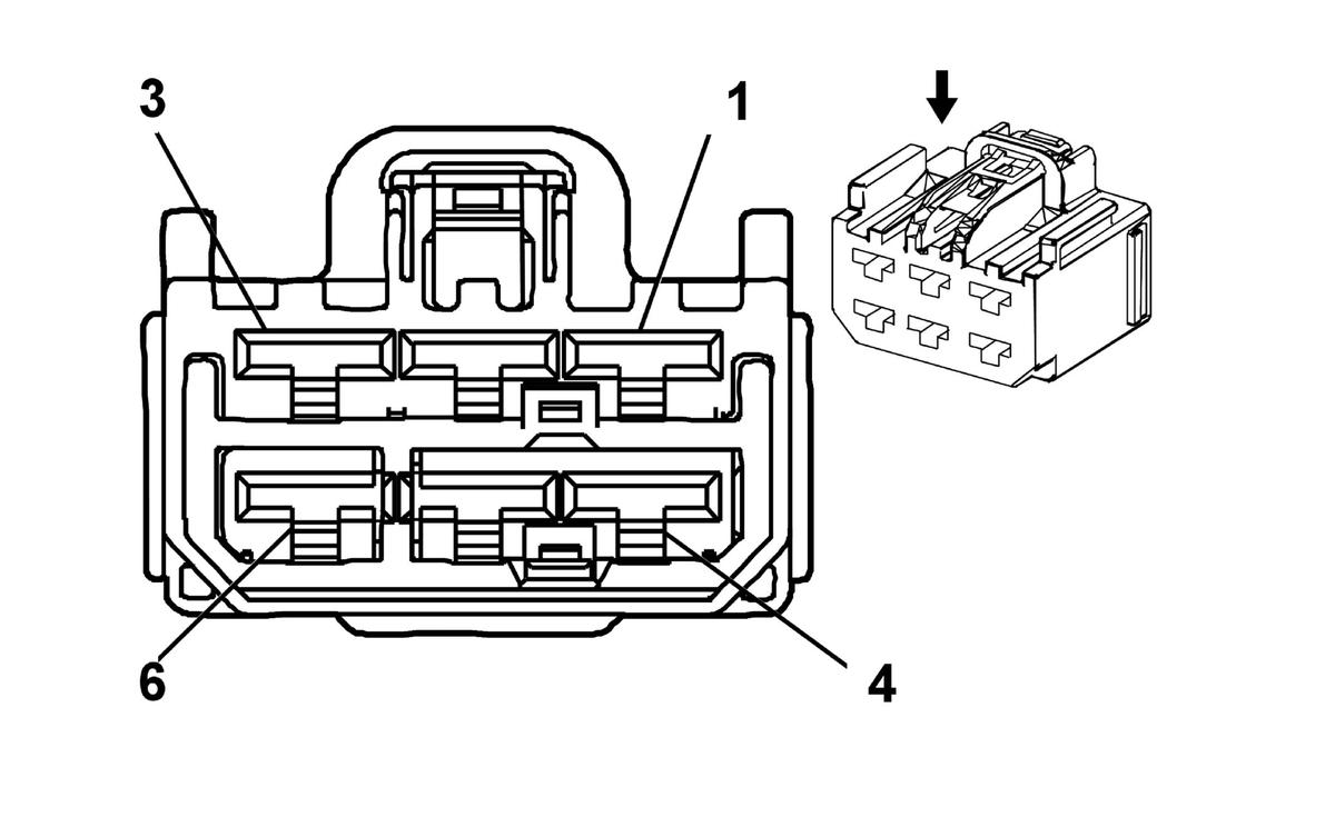
Fig 1: Fuse Block - Instrument Panel X2 Connector End View
GM1845354Courtesy of GENERAL MOTORS CORP.
Fuse Block - Instrument Panel X2

Pin Wire Circuit Function
1 5.0 RD/BK 642 Battery Positive Voltage
2 3.0 RD/BK 442 Battery Positive Voltage
3 5.0 RD/BK 842 Battery Positive Voltage
4 2.0 RD/BK 542 Battery Positive Voltage (AG1)
2.0 RD/BK 542 Battery Positive Voltage (AG1-KA1)
5-6 - - Not Used
Connector Part Information 
  • OEM: 7283-5600-40
  • Service: See Catalog
  • Description: 6-Way F (L-GY)
Terminal Part Information 
  • Pins: 4
  • Terminal/Tray: 7116-4121-02/10
  • Core/Insulation Crimp: C/B
  • Release Tool/Test Probe: 12094430/J-35616-42 (RD)
  • Pins: 1-3
  • Terminal/Tray: 7116-4122-02/10
  • Core/Insulation Crimp: Pins 1, 3 - D/G
  • Core/Insulation Crimp: Pins 2 - A/B
  • Release Tool/Test Probe: 12094430/J-35616-42 (RD)