LEMON Manuals: Even more car manuals for everyone
Home >> Pontiac >> 2008 >> Torrent Base, AWD >> Repair and Diagnosis >> Electrical >> Component Locations >> Wiring Systems And Power Management - Component Views & Component Connector End Views >> Component Connector End Views >> Automatic Transmission Shift Lock Control Solenoid

Automatic Transmission Shift Lock Control Solenoid

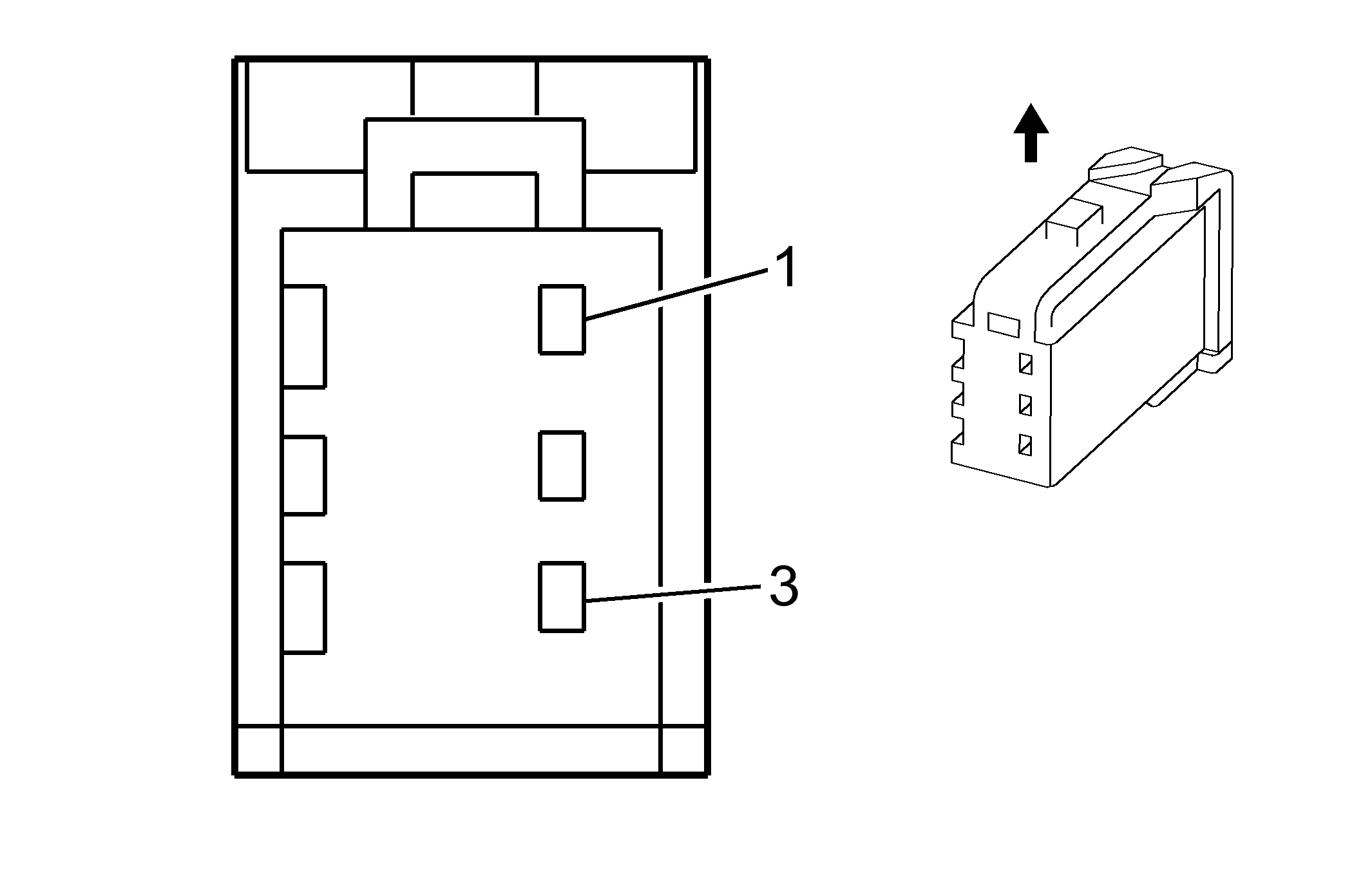
Fig 1: Identifying Automatic Transmission Shift Lock Control Solenoid Connector End View
GM1879137Courtesy of GENERAL MOTORS CORP.
Automatic Transmission Shift Lock Control Solenoid

Pin Wire Circuit Function
1 0.35 D-GN/WH 1135 Automatic Transmission Shift Lock Solenoid Supply Voltage
2 - - Not Used
3 0.35 BK 1450 Ground
Connector Part Information 
  • OEM: 90000223
  • Service: See Catalog
  • Description: 3-Way F (WH)