LEMON Manuals: Even more car manuals for everyone
Home >> Pontiac >> 2008 >> Torrent Base, AWD >> Repair and Diagnosis >> Electrical >> Component Locations >> Wiring Systems And Power Management - Component Views & Component Connector End Views >> Component Connector End Views >> Automatic Transmission (LY7)

Automatic Transmission (LY7)

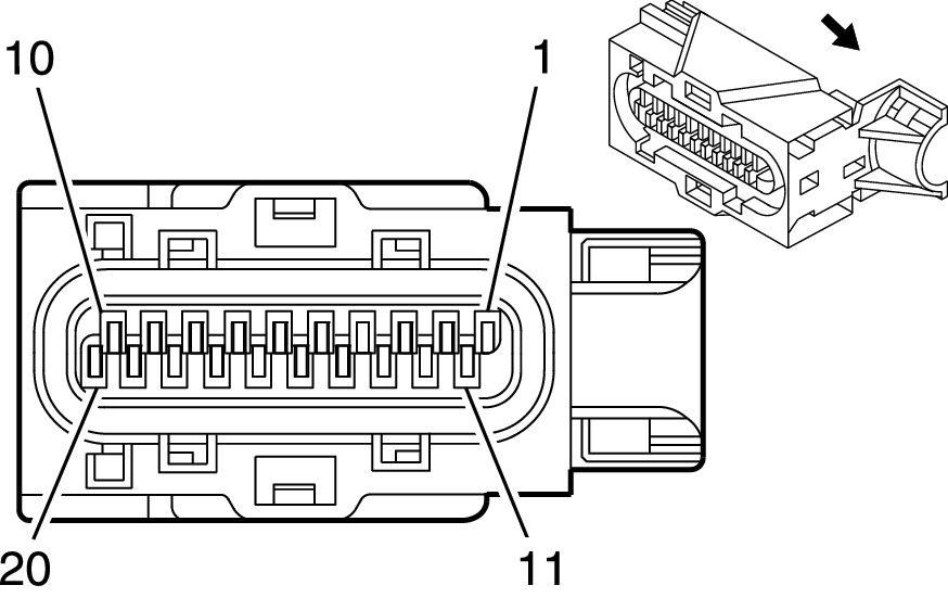
Fig 1: Identifying Automatic Transmission (LY7) Connector End View
GM1910664Courtesy of GENERAL MOTORS CORP.
Automatic Transmission (LY7)

Pin Wire Circuit Function
1 0.8 BK/WH 451 Ground
2 0.5 TN/BK 2500 High Speed GMLAN Serial Data Bus+
3-4 - - Not Used
5 0.5 TN/BK 2500 High Speed GMLAN Serial Data Bus+
6-11 - - Not Used
12 0.5 TN 2501 High Speed GMLAN Serial Data Bus-
13 0.5 PK 1339 Ignition Voltage
14 0.5 TN 2501 High Speed GMLAN Serial Data Bus-
15 0.5 BN 4 Ignition Voltage
16 0.5 WH 17 Stop Lamp Switch Signal
17 - - Not Used
18 0.8 BK/WH 451 Ground
19 0.5 RD/WH 540 Battery Positive Voltage
20 0.5 OG/BK 1786 Park/Neutral Signal
Connector Part Information 
  • OEM: 15476346
  • Service: 19151494
  • Description: 20-Way F GT 150 Sealed (L-GY)
Terminal Part Information 
  • Terminal/Tray: 15326267/19
  • Pins: 1-2, 5, 12-16
  • Core/Insulation Crimp: E/4
  • Pins: 18-19
  • Core/Insulation Crimp: E/1
  • Release Tool/Test Probe: 15315247/J-35616-2A (GY)