LEMON Manuals: Even more car manuals for everyone
Home >> Pontiac >> 2008 >> Solstice Base, Automatic >> Repair and Diagnosis >> Quick Lookups >> Electrical Component Locations >> Wiring Systems And Power Management - Component Views & Component Connector End Views >> Component Connector End Views >> Seat Belt Pretensioner - Driver

Seat Belt Pretensioner - Driver

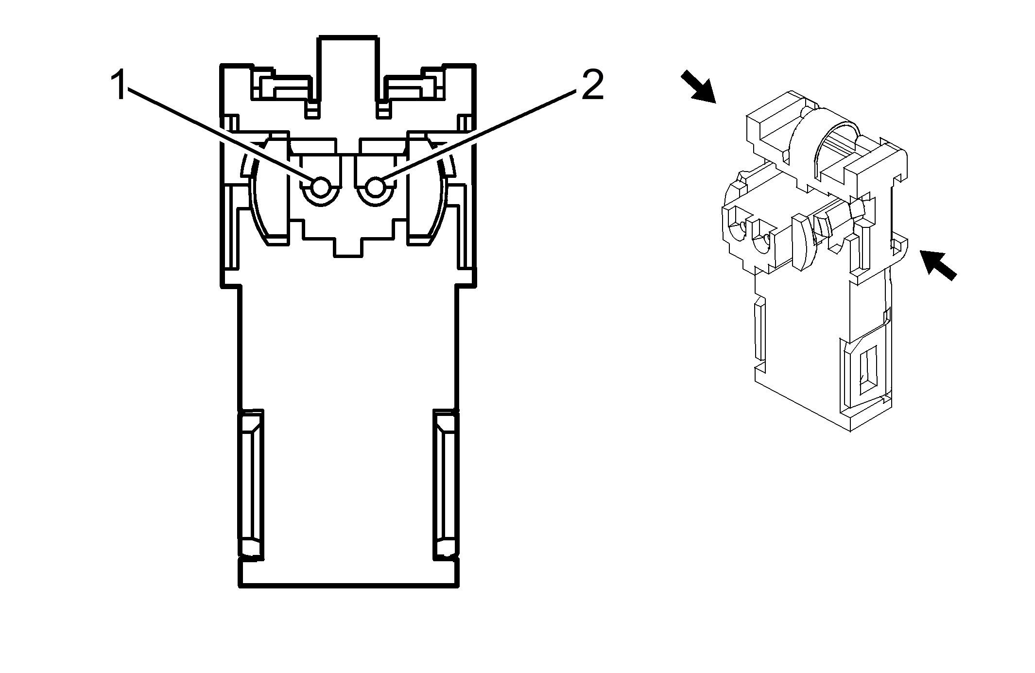
Fig 1: Seat Belt Pretensioner - Driver Connector End View
GM878503Courtesy of GENERAL MOTORS CORP.
Seat Belt Pretensioner - Driver

Pin Wire Circuit Function
1 0.5 OG/BK 2119 Seat Belt Pretensioner - Driver - Low Control
2 0.5 TN/WH 2118 Seat Belt Pretensioner - Driver - High Control
Connector Part Information 
  • OEM: 1376030-1
  • Service: See Catalog
  • Description: 2-Way F Squib Unsealed (YE)
Terminal Part Information 
  • Terminal/Tray: See Terminal Repair Kit
  • Core/Insulation Crimp: See Terminal Repair Kit
  • Release Tool/Test Probe: See Terminal Repair Kit