LEMON Manuals: Even more car manuals for everyone
Home >> Pontiac >> 2008 >> Grand Prix Base >> Repair and Diagnosis >> Quick Lookups >> Electrical Component Locations >> Wiring Systems And Power Management - Component Views & Component Connector End Views >> Component Connector End Views >> Roof Rail Courtesy/Reading Lamp - Left (TR9/CF5)

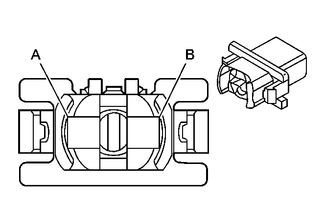
Roof Rail Courtesy/Reading Lamp - Left (TR9/CF5)

Fig 1: Roof Rail Courtesy/Reading Lamp - Left (TR9/CF5) Connector End View
GM1872058Courtesy of GENERAL MOTORS CORP.
Roof Rail Courtesy/Reading Lamp - Left (TR9/CF5)

Pin Wire Color Circuit No. Function
A 0.5 BK 750 Ground
B 0.5 WH 999 Roof Rail Lamp High Control
Connector Part Information 
  • OEM: 15476479
  • Service: See Catalog
  • Description: 2-Way F Lamp Socket Wedge (BK)
Terminal Part Information 
  • Terminal/Tray: See Terminal Repair Kit
  • Core/Insulation Crimp: See Terminal Repair Kit
  • Release Tool/Test Probe: See Terminal Repair Kit