LEMON Manuals: Even more car manuals for everyone
Home >> Pontiac >> 2008 >> Grand Prix Base >> Repair and Diagnosis >> Quick Lookups >> Electrical Component Locations >> Wiring Systems And Power Management - Component Views & Component Connector End Views >> Component Connector End Views >> Instrument Panel Cluster (IPC)

Instrument Panel Cluster (IPC)

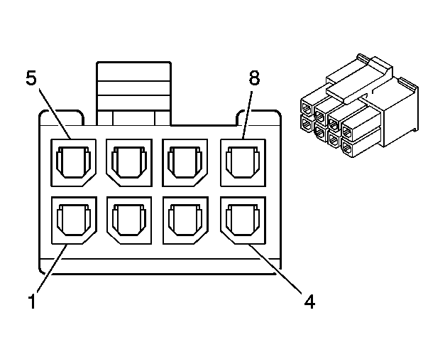
Fig 1: Instrument Panel Cluster (IPC) Connector End View
GM1243612Courtesy of GENERAL MOTORS CORP.
Instrument Panel Cluster (IPC)

Pin Wire Color Circuit No. Function
1 0.35 BK/WH 1551 Ground
2 0.35 TN/WH 33 Brake Warning Indicator Control
3 0.35 GY 1036 IPC Class 2 Serial Data
4 - - Not Used
5 0.35 PU 5234 Passenger Seat Belt Indicator
6 - - Not Used
7 0.35 BN/WH 419 MIL Control
8 0.35 OG 5240 Battery Positive Voltage
Connector Part Information 
  • OEM:15448102
  • Service: 88987968
  • Description: 8-Way F Molex Micro-Fit (3.0) (BK)
Terminal Part Information 
  • Pins: 1- 3, 5, 7, 8
  • Terminal/Tray: See Terminal Repair Kit
  • Core/Insulation Crimp: See Terminal Repair Kit
  • Release Tool/Test Probe: See Terminal Repair Kit