LEMON Manuals: Even more car manuals for everyone
Home >> Pontiac >> 2008 >> G5 Base, Automatic >> Repair and Diagnosis >> Quick Lookups >> Electrical Component Locations >> Wiring Systems And Power Management - Component Views & Component Connector End Views >> Electrical Center Identification Views >> Body Control Module (BCM) X1

Body Control Module (BCM) X1

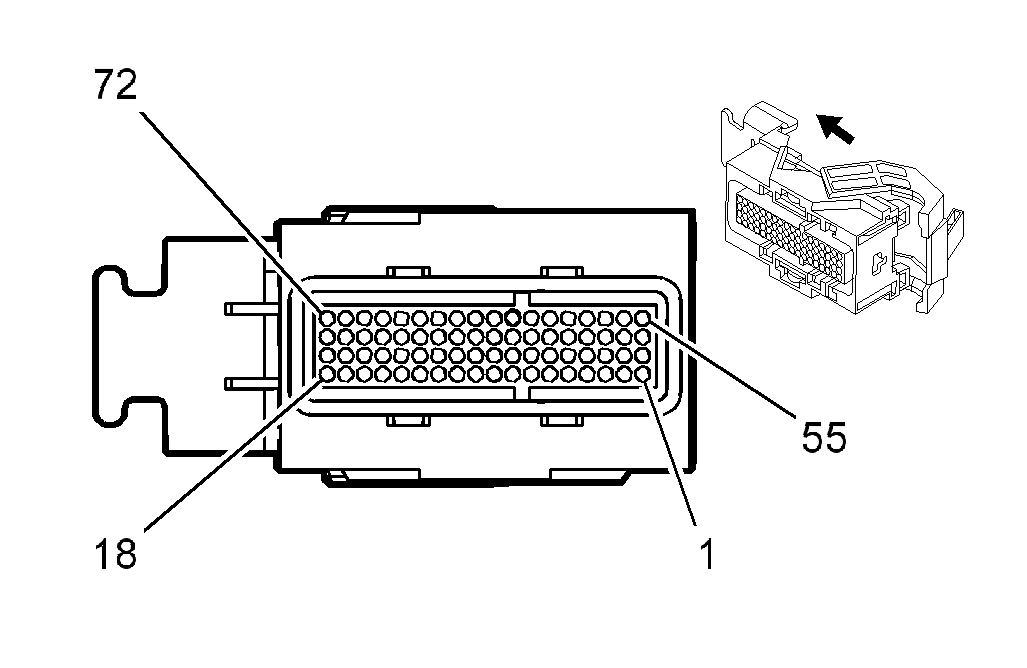
Fig 1: Body Control Module (BCM) X1 Connector End View
GM1376257Courtesy of GENERAL MOTORS CORP.
Body Control Module (BCM) X1

Pin Wire Circuit Function
1 0.35 L-BU/BK 747 Left Rear Door Ajar Switch Signal (Sedan)
2 - - Not Used
3 0.35 PU 5531 Hood Closed Switch Signal (AP8)
4 0.35 PK/BK 109 Hood Ajar Switch Signal (AP8)
5 - - Not Used
6 0.35 WH 682 Door Lock Lock/Unlock Signal
7 0.35 WH 682 Door Lock Lock/Unlock Signal
8 0.35 WH 1080 Park Lamp Relay Control
9-12 - - Not Used
13 0.35 PK 849 Brake Fluid Level Sensor Signal
14 0.35 L-BU 1134 Park Brake Switch Signal
15 0.35 YE 5199 Run/Crank Relay Coil Control
16 0.35 WH 193 Rear Defog Relay Control
17 0.5 D-BU 15 Right Front Turn Signal Lamp Supply Voltage
18 0.35 D-GN 5060 Low Speed GMLAN Serial Data
19 0.35 TN/WH 746 Right Front Door Ajar Switch Signal
20 0.35 L-GN/BK 748 Right Rear Door Ajar Switch Signal (Sedan)
21 - - Not Used
22 0.35 GY/BK 745 Left Front Door Ajar Switch Signal
23-25 - - Not Used
26 0.35 L-GN 1478 Coolant Level Switch Signal (LNF)
27-30 - - Not Used
31 0.35 WH 5065 CHMSL Relay Coil Supply Voltage
32 - - Not Used
33 0.35 D-GN/WH 1135 A/T Shift Lock Control Solenoid Supply Voltage (MN5/MX0)
34 - - Not Used
35 0.35 L-BU 14 Left Front Turn Signal Lamp Supply Voltage
36 0.35 D-GN 5060 Low Speed GMLAN Serial Data (UE1)
37-39 - - Not Used
40 0.35 L-BU 1788 Traction Control Switch Signal (JL4/JL9)
41-43 - - Not Used
44 0.35 TN/WH 1969 Headlamp High Beam Relay Control
45-46 - - Not Used
47 0.5 YE 196 Windshield Wiper Motor Park Switch Signal
48-50 - - Not Used
51 0.35 D-GN 113 Windshield Wiper Switch Signal
52-53 - - Not Used
54 0.35 YE 317 Fog Lamp Relay Control (T37)
55 0.35 OG/BK 744 Rear Compartment Lid Ajar Switch Signal
56 - - Not Used
57 0.35 BN 253 Trunk Release Relay Control
58-59 - - Not Used
60 0.35 TN 28 Horn Relay Control
61 0.5 BK 1250 Ground
62 0.35 RD/WH 1240 Battery Positive Voltage (without LNF)
63 0.35 GY 596 5-Volt Reference - 1 (without LNF)
64 0.5 BK 650 Ground (without LNF)
65-66 - - Not Used
67 0.35 YE/BK 61 Low Reference
68 0.35 WH 5075 Current Sensor Signal (without LNF)
69 - - Not Used
70 0.35 D-GN/WH 636 Ambient Air Temperature Sensor Signal
71 0.35 L-GN/BK 592 DRL Relay Control
72 - - Not Used
Connector Part Information 
  • OEM: 15393122
  • Service: 88987847
  • Description: 72-Way F Micro 64 (GY)
Terminal Part Information 
  • Pins: 1, 6-8, 13-20, 22, 26, 33, 35, 36, 44, 47, 51, 54, 55, 57, 60-68, 70
  • Terminal/Tray: 15359541/4
  • Core/Insulation Crimp: M/M
  • Release Tool/Test Probe: 15381651-2/J-35616-64B (L-BU)
  • Pins: 31
  • Terminal/Tray: See Terminal Repair Kit
  • Core/Insulation Crimp: See Terminal Repair Kit
  • Release Tool/Test Probe: See Terminal Repair Kit