LEMON Manuals: Even more car manuals for everyone
Home >> Pontiac >> 2008 >> G5 Base, Automatic >> Repair and Diagnosis >> Quick Lookups >> Electrical Component Locations >> Wiring Systems And Power Management - Component Views & Component Connector End Views >> Component Connector End Views >> Recirculation Actuator

Recirculation Actuator

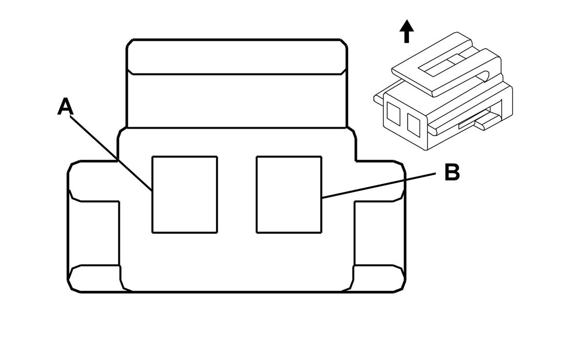
Fig 1: Recirculation Actuator Connector End View
GM704047Courtesy of GENERAL MOTORS CORP.
Recirculation Actuator

Pin Wire Circuit Function
A 0.35 L-GN/BK 1647 Open Recirculation Door Control - B
B 0.35 PK/WH 1648 Close Recirculation Door Control - A
Connector Part Information 
  • OEM: 12059110
  • Service: 88953271
  • Description: 2-Way F Metri-Pack 150 Series (BK)
Terminal Part Information 
  • Terminal/Tray: See Terminal Repair Kit
  • Core/Insulation Crimp: See Terminal Repair Kit
  • Release Tool/Test Probe: See Terminal Repair Kit