LEMON Manuals: Even more car manuals for everyone
Home >> Pontiac >> 2008 >> G5 Base, Automatic >> Repair and Diagnosis >> Quick Lookups >> Electrical Component Locations >> Wiring Systems And Power Management - Component Views & Component Connector End Views >> Component Connector End Views >> Inflatable Restraint Side Impact Sensor (SIS) - Left (ASF)

Inflatable Restraint Side Impact Sensor (SIS) - Left (ASF)

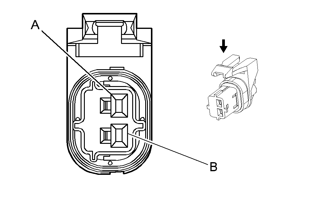
Fig 1: Inflatable Restraint Side Impact Sensor (SIS) - Left (ASF) Connector End View
GM1336240Courtesy of GENERAL MOTORS CORP.
Inflatable Restraint Side Impact Sensor (SIS) - Left (ASF)

Pin Wire Circuit Function
A 0.35 YE 2131 Side Impact Sensing Module - Left - Voltage
B 0.35 WH 2132 Side Impact Sensing Module - Left - Signal
Connector Part Information 
  • OEM: 15356725
  • Service: 15306362
  • Description: 2-Way F GT 150 Series Sealed (YE)
Terminal Part Information 
  • Terminal/Tray: Service with Pigtail
  • Core/Insulation Crimp: N/A
  • Release Tool/Test Probe: See Terminal Repair Kit