LEMON Manuals: Even more car manuals for everyone
Home >> Pontiac >> 2008 >> G5 Base, Automatic >> Repair and Diagnosis >> Quick Lookups >> Electrical Component Locations >> Wiring Systems And Power Management - Component Views & Component Connector End Views >> Component Connector End Views >> Inflatable Restraint Roof Rail Module - Left (ASF)

Inflatable Restraint Roof Rail Module - Left (ASF)

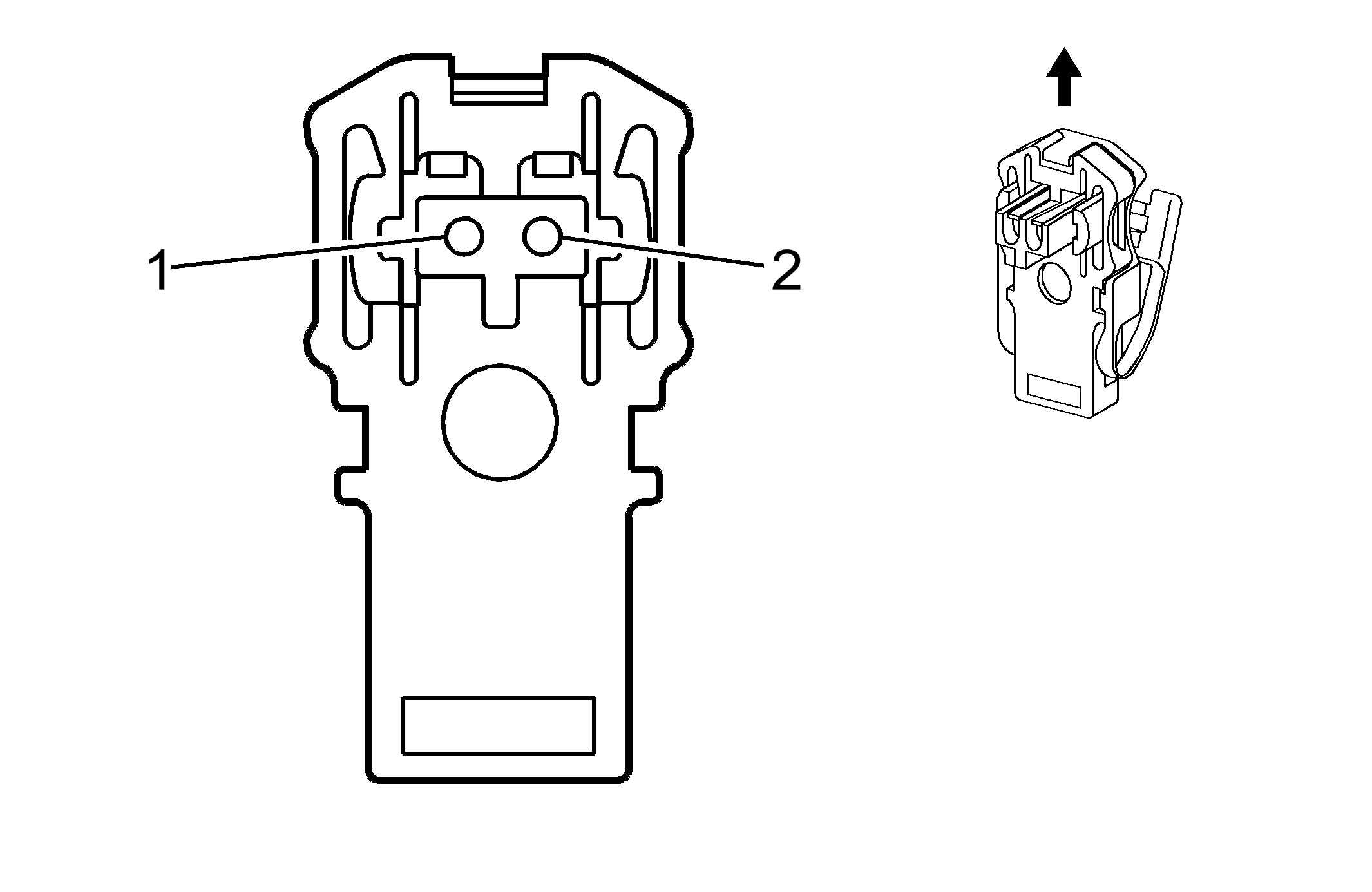
Fig 1: Inflatable Restraint Roof Rail Module - Left (ASF) Connector End View
GM739646Courtesy of GENERAL MOTORS CORP.
Inflatable Restraint Roof Rail Module - Left (ASF)

Pin Wire Circuit Function
1 0.5 D-GN 5019 Roof Rail Module - Left - High Control
2 0.5 WH 5020 Roof Rail Module - Left - Low Control
Connector Part Information 
  • OEM: CA-252-92-5-Q
  • Service: See Catalog
  • Description: 2-Way F (PU) With (YE) Case
Terminal Part Information 
  • Terminal/Tray: Service with Pigtail
  • Core/Insulation Crimp: N/A
  • Release Tool/Test Probe: See Terminal Repair Kit