LEMON Manuals: Even more car manuals for everyone
Home >> Pontiac >> 2008 >> G5 Base, Automatic >> Repair and Diagnosis >> Quick Lookups >> Electrical Component Locations >> Wiring Systems And Power Management - Component Views & Component Connector End Views >> Component Connector End Views >> Horn Switch

Horn Switch

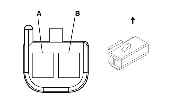
Fig 1: Horn Switch Connector End View
GM35451Courtesy of GENERAL MOTORS CORP.
Horn Switch

Pin Wire Circuit Function
1 0.35 BN 28 Horn Relay Control
2 0.35 BK/WH 151 Ground
0.35 BK/WH 151 Ground
Connector Part Information 
  • OEM: 12059251
  • Service: See Catalog
  • Description: 2-Way F Metri-Pack 150 Series (RD)
Terminal Part Information 
  • Terminal/Tray: See Terminal Repair Kit
  • Core/Insulation Crimp: See Terminal Repair Kit
  • Release Tool/Test Probe: See Terminal Repair Kit