LEMON Manuals: Even more car manuals for everyone
Home >> Pontiac >> 2008 >> G5 Base, Automatic >> Repair and Diagnosis >> Quick Lookups >> Electrical Component Locations >> Wiring Systems And Power Management - Component Views & Component Connector End Views >> Component Connector End Views >> Heated Seat Element - Driver Back (KA1)

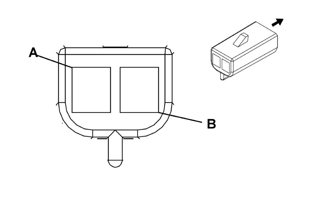
Heated Seat Element - Driver Back (KA1)

Fig 1: Heated Seat Element - Driver Back (KA1) Connector End View
GM646421Courtesy of GENERAL MOTORS CORP.
Heated Seat Element - Driver Back (KA1)

Pin Wire Circuit Function
A 1 BK 1250 Ground
B 0.8 OG 2077 Heated Seat Cushion Element Supply Voltage
Connector Part Information 
  • OEM: 12059254
  • Service: 12126020
  • Description: 2-Way F Metri-Pack 150 Series (GN)
Terminal Part Information 
  • Terminal/Tray: 12129484/19
  • Core/Insulation Crimp: E/C
  • Release Tool/Test Probe: 12094429/J-35616-2A (GY)