LEMON Manuals: Even more car manuals for everyone
Home >> Pontiac >> 2008 >> G5 Base, Automatic >> Repair and Diagnosis >> Quick Lookups >> Electrical Component Locations >> Wiring Systems And Power Management - Component Views & Component Connector End Views >> Component Connector End Views >> Audio Amplifier X1 (UQ3)

Audio Amplifier X1 (UQ3)

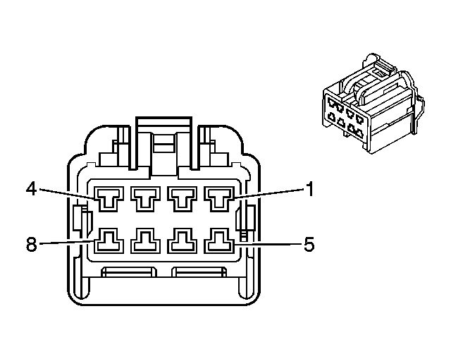
Fig 1: Audio Amplifier X1 Connector End View
GM1814631Courtesy of GENERAL MOTORS CORP.
Audio Amplifier X1 (UQ3)

Pin Wire Circuit Function
1 0.8 D-BU/WH 346 Rear Subwoofer Speaker Output (+)
2 0.8 L-GN/BK 1794 Rear Subwoofer Speaker Output (-)
3 0.8 D-GN 1795 Rear Subwoofer Speaker Output (+)
4 0.8 L-BU/BK 315 Rear Subwoofer Speaker Output (-)
5 2 BK/WH 1051 Ground
6-7 - - Not Used
8 2 RD/WH 640 Battery Positive Voltage
Connector Part Information 
  • OEM: 15465061
  • Service: 88988659
  • Description: 8-Way F (BK)
Terminal Part Information 
  • Terminal/Tray: See Terminal Repair Kit
  • Core/Insulation Crimp: See Terminal Repair Kit
  • Release Tool/Test Probe: See Terminal Repair Kit