LEMON Manuals: Even more car manuals for everyone
Home >> Pontiac >> 2007 >> Vibe Automatic >> Repair and Diagnosis >> Engine Performance >> System >> Engine Control System & Fuel System - Introduction (2 Of 2) >> Description and Operation >> Fuel System Description >> Fuel Supply System

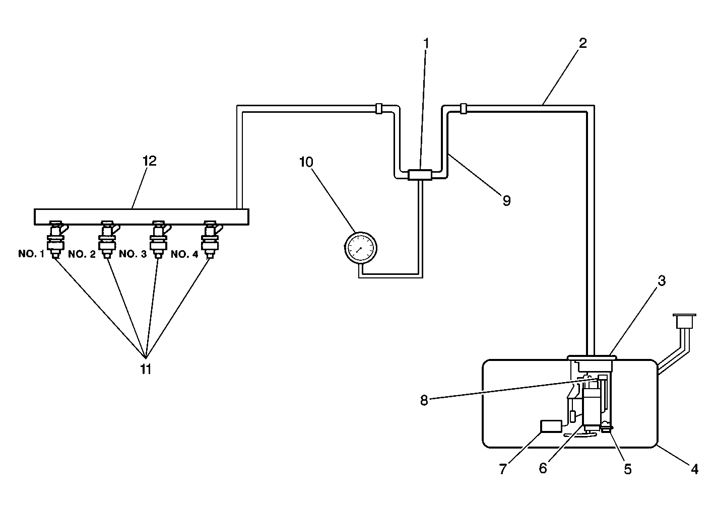
Fuel Supply System

Fig 1: Fuel Supply System Component View
GM245480Courtesy of GENERAL MOTORS CORP.
Callout Component Name
1 Fuel Pressure Gauge Adapter J 42982
2 Fuel Feed Pipe
3 Fuel Sender Assembly
4 Fuel Tank
5 Fuel Pressure Regulator
6 Fuel Pump
7 Fuel Sender (gauge)
8 Fuel Filter
9 Pinch Off Area
10 Fuel Pressure Gauge J 34730-1A
11 Fuel Injectors
12 Fuel Rail

The supply of fuel is stored in the fuel tank. An electric fuel pump pressurizes the fuel through to the fuel filter and out to the fuel lines and the fuel rail. The electric fuel pump is suspended from the top of the fuel tank as part of the fuel sender assembly. The fuel pump is designed to provide fuel at a pressure above the regulated pressure needed by the fuel injectors. The fuel pressure regulator keeps the fuel supplied to the fuel injectors at the regulated pressure.

The fuel pressure regulator is located inside of the fuel tank and is part of the fuel sender assembly. Locating the fuel pressure regulator in the fuel tank eliminates the need for a return line from the fuel rail. A returnless system reduces the internal temperature of the fuel tank resulting in lower evaporative emissions.

The fuel system is also equipped with an enhanced evaporative emission (EVAP) system and an on-board refueling vapor recovery (ORVR) system. Together the 2 systems minimize the release of fuel vapors to the atmosphere.

Fig 2: Fuel Tank Assembly
GM1456204Courtesy of GENERAL MOTORS CORP.
Callout Component Name
1 Fuel Supply Line
2 Retaining Clip
3 ORVR Vent Line
4 Fuel Filler Cap
5 Fuel Filler Pipe Assembly
6 Fuel Filler Hose
7 Fuel Filler Hose Protector
8 Fuel Tank Straps
9 Fuel Tank
10 Fuel Sender Assembly Gasket
11 Fuel Sender Assembly
12 Fuel Tank Lock Ring