LEMON Manuals: Even more car manuals for everyone
Home >> Pontiac >> 2007 >> Vibe Automatic >> Repair and Diagnosis >> Engine Performance >> System >> Engine Control System & Fuel System - Introduction (2 Of 2) >> Description and Operation >> Fuel System Description >> Fuel Sender Assembly

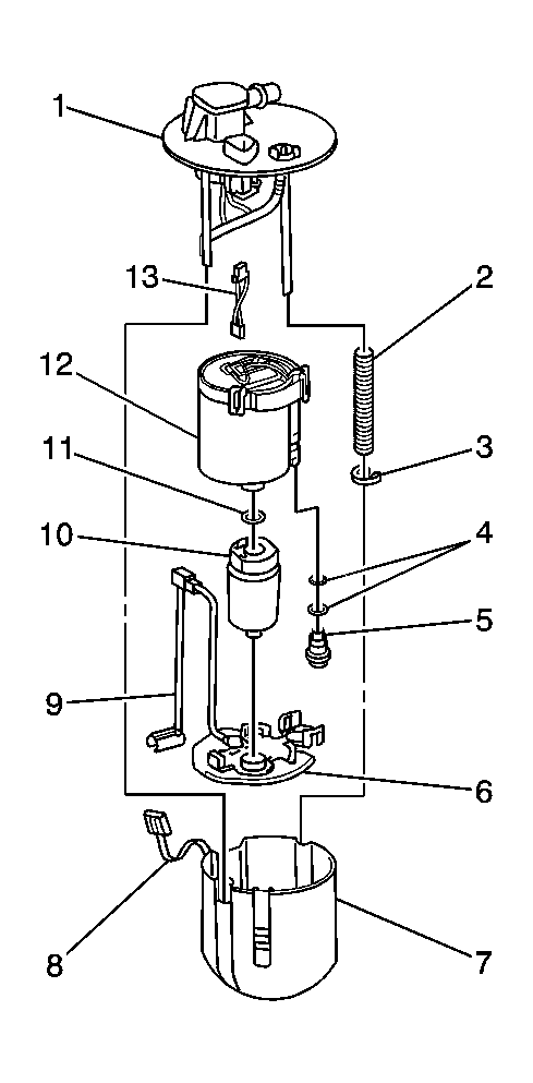
Fuel Sender Assembly

Fig 1: View Of Fuel Sender Assembly
GM1464200Courtesy of GENERAL MOTORS CORP.
Callout Component Name
1 Fuel Sender Assembly - Upper Support
2 Spring
3 Retaining E-Clip
4 Fuel Pressure Regulator O-rings
5 Fuel Pressure Regulator
6 Fuel Pump Strainer
7 Fuel Sender Assembly - Lower Housing
8 Fuel Level Sensor
9 Fuel Pump Jet Tube
10 Fuel Pump
11 Fuel Pump O-ring
12 Fuel Filter and Housing
13 Fuel Pump Electrical Jumper Harness

The fuel sender assembly is located in the fuel tank. The fuel sender assembly contains the electric fuel pump, the fuel level sensor, the fuel pressure regulator, and the fuel filter. Most of the fuel sender assembly components can be serviced separately.