LEMON Manuals: Even more car manuals for everyone
Home >> Pontiac >> 2007 >> Vibe Automatic >> Repair and Diagnosis >> Engine Performance >> System >> Engine Control System & Fuel System - Introduction (2 Of 2) >> Description and Operation >> Evaporative Emission Control System Description >> EVAP System Operation

EVAP System Operation

When the engine is operating in Closed Loop and the engine coolant temperature is more than 74°C (165°F), the powertrain control module (PCM) initiates purging of the stored fuel vapors. In order to purge the fuel system vapors, the PCM commands the purge valve ON, OPEN, allowing engine vacuum to be applied to the EVAP canister. With the EVAP vent valve OFF, OPEN, fresh air will be drawn through the EVAP canister air filter and vent valve into the EVAP canister. Manifold vacuum continues to pull fresh air through the canister pulling fuel vapors from the carbon. The air/fuel vapor mixture passes through the purge line and purge valve into the intake manifold to be consumed during the normal combustion process.

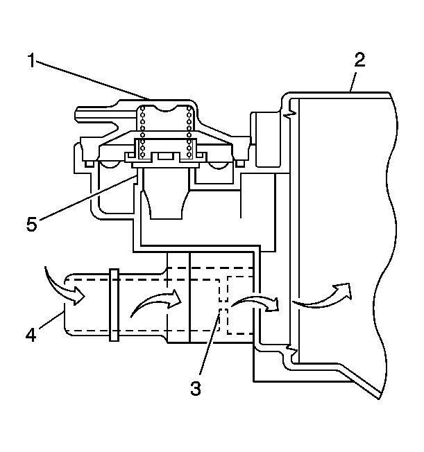
Fig 1: View Of Fill Limiter Vent Valve
GM1459489Courtesy of GENERAL MOTORS CORP.
Callout Component Name
1 Fill Limiter Vent Valve (FLVV)
2 EVAP Canister
3 Restrictor Orifice
4 On-Board Refueling Vapor Recovery (ORVR) Vent Line Inlet Port
5 Vent Control Valve

Atmospheric pressure (4) is allowed into the canister in order to ensure that purge flow is consistently maintained whenever purge vacuum is applied to the canister. The PCM will change the duty ratio cycle of the purge solenoid valve, controlling the purge flow volume. Purge flow volume is determined by manifold pressure, the purge solenoid duty ratio cycle, and the restrictor passage (3) in the canister. The restrictor passage prevents a large volume of vapor from suddenly entering the intake manifold and affecting the airfuel ratio.