LEMON Manuals: Even more car manuals for everyone
Home >> Pontiac >> 2007 >> Vibe Automatic >> Repair and Diagnosis >> Engine Performance >> System >> Engine Control System & Fuel System - Introduction (2 Of 2) >> Component Locator >> Engine Controls Connector End Views >> PCM Connector - C4

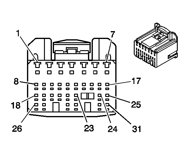
PCM Connector - C4

Fig 1: PCM Connector - C4 Connector End View
GM820233Courtesy of GENERAL MOTORS CORP.
PCM Connector - C4 Connector & Terminal Parts Information

Connector Part Information 
  • OEM: -
  • Service: N/A
  • Description: 31-Pin (WH)
PCM Connector - C4 Terminal Identification

Pin Wire Color Function
1 BK Ignition Positive Voltage
2 - Not Used
3 RD/WH Battery Voltage
4 GY EVAP Vacuum Leak Pump Control
5 BK Engine Speed Output for Tachometer
6-7 - Not Used
8 BK/WH EFI Relay High Control
9 RD Ignition Positive Voltage
10 GN/RD Circuit Opening Relay Control
11 RD/YE MIL Control
12 GN Electrical Load Idle-Up Signal, Tail Lamps
13 WH Electrical Load Idle-Up Signal, Rear Defogger
14 YE Supplemental Inflatable Restraint (SIR) System Signal
15-17 - Not Used
18 BU/RD Serial Data
19 PK Data Link Connector (DLC)
20 PK/BK Diagnostic Request Circuit
21 BU Fuel Tank Pressure (FTP) Sensor Input
22 GN Accelerator Pedal Position (APP) Sensor 1 Signal
23 WH Accelerator Pedal Position (APP) Sensor 2 Signal
24-25 - Not Used
26 BK Accelerator Pedal Position (APP) Sensor 1 Reference Voltage
27 BK Accelerator Pedal Position (APP) Sensor 2 Reference Voltage
28 YE Accelerator Pedal Position (APP) Sensor 1 Low Reference
29 YE Accelerator Pedal Position (APP) Sensor 2 Low Reference
30-31 - Not Used
*Automatic Transmission Only