LEMON Manuals: Even more car manuals for everyone
Home >> Pontiac >> 2007 >> Vibe Automatic >> Repair and Diagnosis >> Engine Performance >> System >> Engine Control System & Fuel System - Introduction (2 Of 2) >> Component Locator >> Engine Controls Connector End Views >> PCM Connector - C3

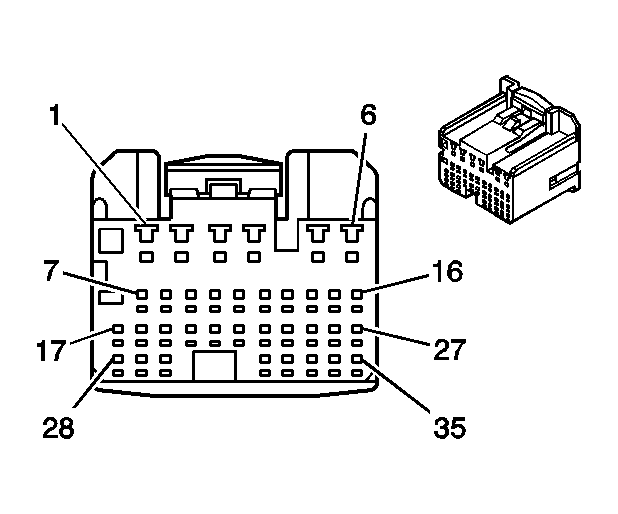
PCM Connector - C3

Fig 1: PCM Connector - C3 Connector End View
GM820244Courtesy of GENERAL MOTORS CORP.
PCM Connector - C3 Connector & Terminal Parts Information

Connector Part Information 
  • OEM: -
  • Service:
  • Description: 35-Pin (WH)
PCM Connector - C3 Terminal Identification

Pin Wire Color Function
1 YE AC Pressure Switch
2 YE/BK AC Compressor Clutch Relay Control
3-5 - Not Used
6 BK/RD Throttle Actuator Control (TAC) System Ignition Voltage
7 L-GN Overdrive (OD) Indicator Control*
8 L-GN/BK Park Neutral Position (PNP) Switch L Position Signal*
9 L-GN Park Neutral Position (PNP) Switch 2 Position Signal*
10 BU Park Neutral Position (PNP) Switch D Position Signal*
11 RD/BK Park Neutral Position (PNP) Switch R Position Signal*
12 GN/OG Cruise Control Interrupt Circuit
13 GN/RD Cruise Control Indicator Lamp
14 YE/RD Engine Coolant Temperature Gage Output
15-16 - Not Used
17 PU/WH Vehicle Speed Sensor (VSS) Input
18 - Not Used
19 GN/WH Cruise Brake Switch Signal
20-23 - Not Used
24 GN/YE Cruise Control Switch
25-27 - Not Used
28 YE AC Request Signal
29 GN/BK Overdrive (OD) Switch Signal*
30-31 - Not Used
32 BK/BU Evaporator Temperature Sensor Input
33 GN/WH AC On Signal
34-35 - Not Used
*Automatic Transmission Only