LEMON Manuals: Even more car manuals for everyone
Home >> Pontiac >> 2007 >> Vibe Automatic >> Repair and Diagnosis >> Engine Performance >> System >> Engine Control System & Fuel System - Introduction (2 Of 2) >> Component Locator >> Engine Controls Connector End Views >> PCM Connector - C2

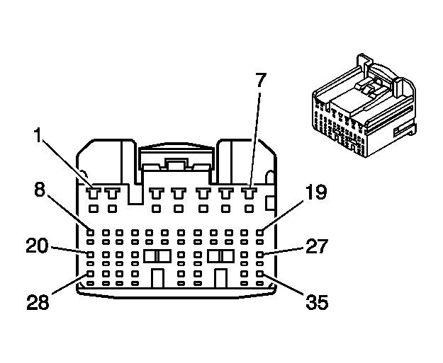
PCM Connector - C2

Fig 1: PCM Connector - C2 Connector End View
GM820243Courtesy of GENERAL MOTORS CORP.
PCM Connector - C2 Connector & Terminal Parts Information

Connector Part Information 
  • OEM: -
  • Service: N/A
  • Description: 35-Pin (WH)
PCM Connector - C2 Terminal Identification

Pin Wire Color Function
1 BK Knock Sensor (KS) Signal High
2 WH/BK Ground
3 WH TAC Motor Control Low
4 L-GN TAC Motor Control High
5 PK Heated Oxygen Sensor (HO2S) 1 Heater Circuit Control
6 WH/BK Ground
7 WH/BK Heated Oxygen Sensor (HO2S) Shield Ground
8 BU/RD Power Steering Pressure (PSP) Switch Input
9 BU Shift Solenoid (SS) 2 Control*
10 BU/WH Torque Converter Clutch (TCC) Control*
11 RD/YE Shift Solenoid (SS) 1 Control*
12 PK Line Pressure Control (PC) Solenoid Control Low*
13 RD/WH Line Pressure Control (PC) Solenoid Control High*
14-15 - Not Used
16 L-GN Fan 1 Relay Control
17 GY TAC Shield Ground
18-20 - Not Used
21 PK/BK Heated Oxygen Sensor (HO2S) 2 Heater Circuit Control
22 - Not Used
23 BK Heated Oxygen Sensor (HO2S) 1 Input
24 BK Camshaft Position (CMP) Sensor Input
25 BK Crankshaft Position (CKP) Sensor Input
26-27 - Not Used
28 WH Knock Sensor (KS) Signal Low
29 WH Heated Oxygen Sensor (HO2S) 2 Input
30 - Not Used
31 WH Heated Oxygen Sensor (HO2S) 1 Low Reference
32 - Not Used
33 WH CMP Sensor and CKP Sensor Ground
34 - Not Used
35 WH/BK Ground
*Automatic Transmission Only