LEMON Manuals: Even more car manuals for everyone
Home >> Pontiac >> 2007 >> Vibe Automatic >> Repair and Diagnosis >> Engine Performance >> System >> Engine Control System & Fuel System - Introduction (2 Of 2) >> Component Locator >> Engine Controls Connector End Views >> PCM Connector - C1

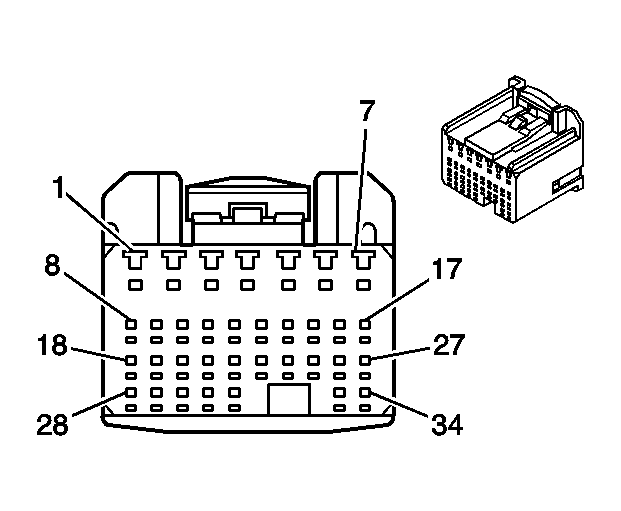
PCM Connector - C1

Fig 1: PCM Connector - C1 Connector End View
GM820235Courtesy of GENERAL MOTORS CORP.
PCM Connector - C1 Connector & Terminal Parts Information

Connector Part Information 
  • OEM: -
  • Service: N/A
  • Description: 34-Pin (WH)
PCM Connector - C1 Terminal Identification

Pin Wire Color Function
1 YE Fuel Injector 1 Control
2 BK Fuel Injector 2 Control
3 WH Fuel Injector 3 Control
4 BU Fuel Injector 4 Control
5 BN Ground
6 WH/BK Ground
7 WH/BK Ground
8 RD/BU Ignition Trigger Signal Coil 1
9 YE/GN Ignition Trigger Signal Coil 2
10 GY Ignition Trigger Signal Coil 3
11 WH Ignition Trigger Signal Coil 4
12 BK/YE Camshaft Position (CMP) Actuator Solenoid Valve High Control
13 YE Camshaft Position (CMP) Actuator Solenoid Valve Low Control
14 L-GN/BK Fan 2 Relay Control
15 - Not Used
16 RD Ignition Positive Voltage
17 BK Crank Signal
18 YE 5-Volt Reference Circuit
19 WH Engine Coolant Temperature (ECT) Sensor Input
20 YE/BK Intake Air Temperature (IAT) Sensor
21 L-GN Throttle Position (TP) Sensor 1 Input
22-23 - Not Used
24 BU/YE Ignition Fail Safe Input
25-26 - Not Used
27 RD EVAP Canister Vent Solenoid Valve Control
28 BN Sensor Ground
29 BU/WH Mass Air Flow (MAF) Sensor Signal Low
30 GN Mass Air Flow (MAF) Sensor Signal High
31 L-GN Throttle Position (TP) Sensor 2 Input
32-33 - Not Used
34 BU/BK EVAP Canister Purge Solenoid Valve Control
*Automatic Transmission Only