LEMON Manuals: Even more car manuals for everyone
Home >> Pontiac >> 2007 >> Torrent AWD >> Repair and Diagnosis (Single Page) >> Quick Lookups >> Wiring Diagrams >> OEM Connector End Views >> Engine Control Module Connector End Views >> Electronic Control Module (ECM) Connector End View - C1

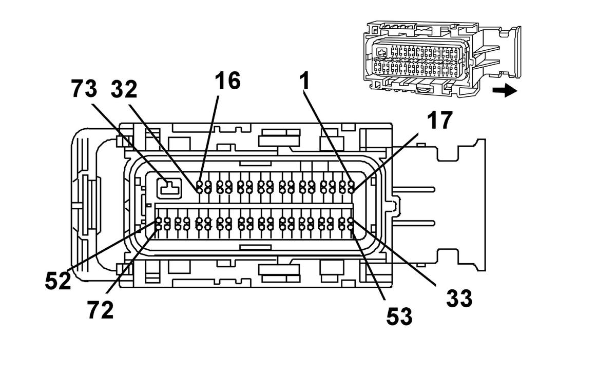
Electronic Control Module (ECM) Connector End View - C1

Fig 1: Electronic Control Module (ECM) - C1 Connector End View
GM1590592Courtesy of GENERAL MOTORS CORP.
Electronic Control Module (ECM) - C1 Connector Parts Information

Connector Part Information 
  • OEM: 12582677
  • Service: 88988931
  • Description: 73-Way F Receptacle 0.64 2.8 Sealed (BK)
Terminal Part Information 
  • Pins: 1, 9, 10, 11, 12, 13, 16, 17, 18, 19, 20, 23, 24, 27, 28, 29, 30, 31, 32, 33, 34, 36, 37, 38, 41, 47, 50, 52, 56, 58, 59, 61, 63, 65, 68
  • Terminal/Tray: 33467-0005/23
  • Core/Insulation Crimp: J/J
  • Release Tool/Test Probe: J-38125-213/J-35616-64B (L-BU)
  • Pins: 73
  • Terminal/Tray: 7116-4151-02/9
  • Core/Insulation Crimp: E/1
  • Release Tool/Test Probe: 12094430/J-35616-4A (PU)
Electronic Control Module (ECM) - C1 Connector Terminal Identification

Pin Wire Color Circuit No. Function
1 OG/BK 1786 Park/Neutral Signal Ignition Lock Cylinder Control Actuator Signal (2003 and later)
2-8 - - Not Used
9 WH 17 Stop Lamp Switch Signal or Stop Lamp Supply Voltage
10 PU/WH 1668 HO2S High Signal [- Bank 1 Sensor X]
11 TN/WH 1669 HO2S Low Signal [- Bank 1 Sensor X]
12 OG/BK 380 A/C Refrigerant Pressure Sensor Signal
13 TN 5514 GMX320 Low Reference
14-15 - - Not Used
16 PU 1589 Fuel Level Sensor Signal [- Primary]
17 D-BU 473 High Speed Cooling Fan Relay Control
18 BN 4 Accessory Voltage
19 PK 439 Ignition 1 Voltage
20 RD/WH 1540 Battery Positive Voltage
21-22 - - Not Used
23 PU 1272 Low Reference
24 D-GN 890 Fuel Tank Pressure Sensor Signal
25-26 - - Not Used
27 TN 2501 High Speed GMLAN Serial Data Bus-
28 TN/BK 2500 High Speed GMLAN Serial Data Bus+
29 D-BU 1161 APP Sensor 1 Signal
30 BN 1271 Low Reference
31 TN 2759 Low Reference
32 L-BU 1162 APP Sensor 2 Signal
33 GY 2709 5-Volt Reference
34 GY 2700 5-Volt Reference
35 - - Not Used
36 TN 1274 5-Volt Reference
37 TN 472 IAT Sensor Signal
38 TN 2760 Low Reference
39-40 - - Not Used
41 YE 492 MAF Sensor Signal
42-46 - - Not Used
47 PK/BK 5290 Ignition 1 Voltage
48-49 - - Not Used
50 D-GN/WH 465 Fuel Pump Relay Control [- Primary]
51 - - Not Used
52 YE 447 Starter Relay Coil Control
53-55 - - Not Used
56 WH/BK 1164 5-Volt Reference
57 - - Not Used
58 D-GN 335 Low Speed Cooling Fan Relay Control
59 BN 5069 MX320 Main Relay Control
60 - - Not Used
61 WH 1310 EVAP Canister Vent Solenoid Control
62 - - Not Used
63 D-GN/WH 459 A/C Compressor Clutch Relay Control
64 - - Not Used
65 GY/WH 3122 HO2S Heater Low Control [- Bank 2 Sensor 1]
66-67 - - Not Used
68 BN/WH 419 MIL Control
69-72 - - Not Used
73 BK/WH 451 Ground