LEMON Manuals: Even more car manuals for everyone
Home >> Pontiac >> 2007 >> Torrent AWD >> Repair and Diagnosis (Single Page) >> Quick Lookups >> Wiring Diagrams >> OEM Connector End Views >> Data Communication Connector End Views >> Body Control Module Connector End View - C2

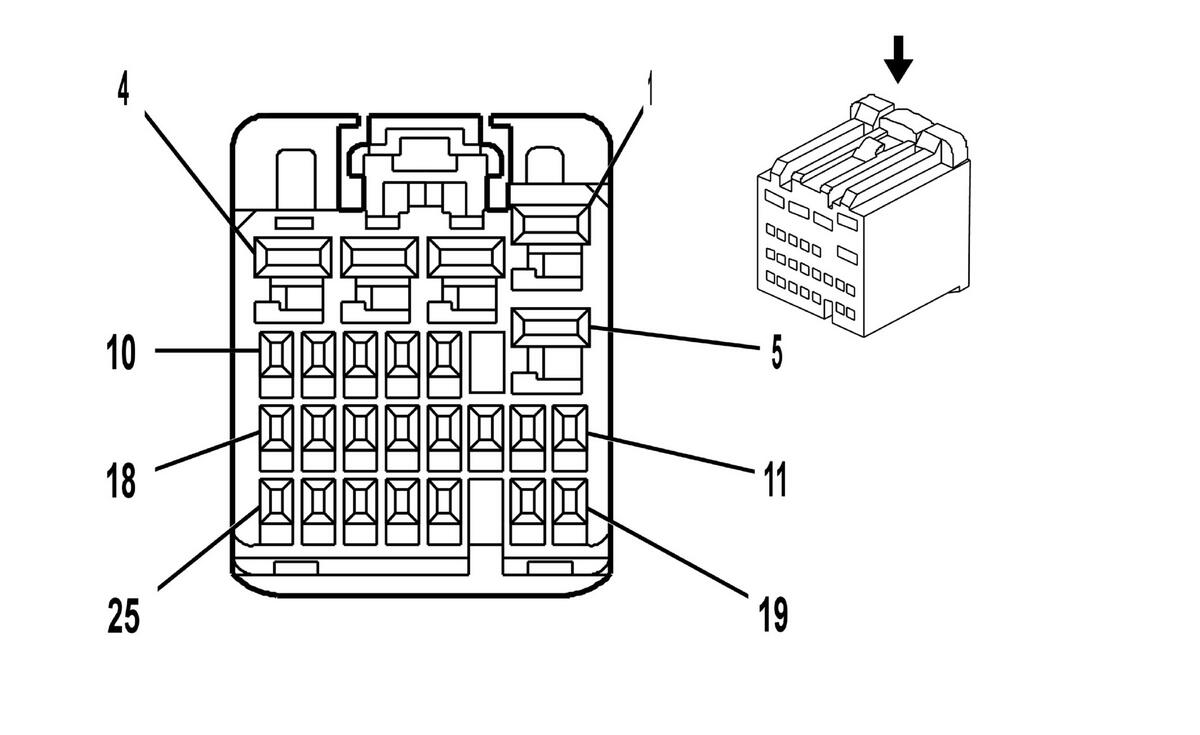
Body Control Module Connector End View - C2

Fig 1: Body Control Module - C2 Connector End View
GM1664496Courtesy of GENERAL MOTORS CORP.
Body Control Module - C2 Connector Parts Information

Connector Part Information 
  • OEM: HITPB-25-B-S
  • Service: 8898839
  • Description: 25-Way F Receptacle 0.64 2.8 Unsealed (WH)
Terminal Part Information 
  • Pins: 1, 2, 3, 3
  • Terminal/Tray: SNAC-A061T-M2.8/20
  • Core/Insulation Crimp: E/A
  • Release Tool/Test Probe: 12094429/J-35616-4A (PU)
  • Pins: 8, 11, 12, 17, 21
  • Terminal/Tray: SNAC3-A021T-M0.64/20
  • Core/Insulation Crimp: J/J
  • Release Tool/Test Probe: 12094429/J-35616-64B (L-BU)
Body Control Module - C2 Connector Terminal Identification

Pin Wire Color Circuit No. Function
1 OG 1732 Courtesy Lamps Supply Voltage All Trucks W/TBC 2.0 Inadvertent Power Supply Voltage Inadvertent Power Courtesy Lamp
2 RD/WH 1240 Battery Positive Voltage
3 GY 8 Instrument Panel Lamp Supply Voltage/Instrument Panel Lamps Dimmer Switch Signal
3 GY 8 Instrument Panel Lamp Supply Voltage/Instrument Panel Lamps Dimmer Switch Signal
4-7 - - Not Used
8 BN/WH 301 Rear Park Lamps Supply Voltage/Park Lamp Switch On Signal
9-10 - - Not Used
11 L-GN/BK 1137 DRL Ambient Light Sensor Signal
12 WH 103 Headlamp Switch Headlamps On Signal or Automatic Headlamp Relay Control
13-16 - - Not Used
17 D-GN 306 Headlamp Switch Headlamps Off Signal/Automatic Headlamp Low Control DRL On/Off Signal
18-20 - - Not Used
21 L-BU 1788 Traction Control Switch Signal
22 PU/WH 5905 Key Capture/Column Lock Shift Position Signal
23-25 - - Not Used