LEMON Manuals: Even more car manuals for everyone
Home >> Pontiac >> 2007 >> Torrent AWD >> Repair and Diagnosis (Single Page) >> Engine Performance >> System >> Engine Controls And Fuel - 3.4L - Introduction (2 Of 2) >> Repair Instructions >> Ignition Control Module Bracket Replacement >> Installation Procedure

Installation Procedure

    Fig 1: View Of Ignition Control Module Bracket & Components
    GM1087898Courtesy of GENERAL MOTORS CORP.
  1. Install the ignition control module bracket.
  2. NOTE: Refer to FASTENER NOTICE in Cautions and Notices.
  3. Install the ignition control module bracket nuts (6).

    Tighten:  Tighten the nuts to 25 N.m (18 lb ft).

  4. Install the ignition control module bracket bolts (2).

    Tighten:  Tighten the bolts to 25 N.m (18 lb ft).

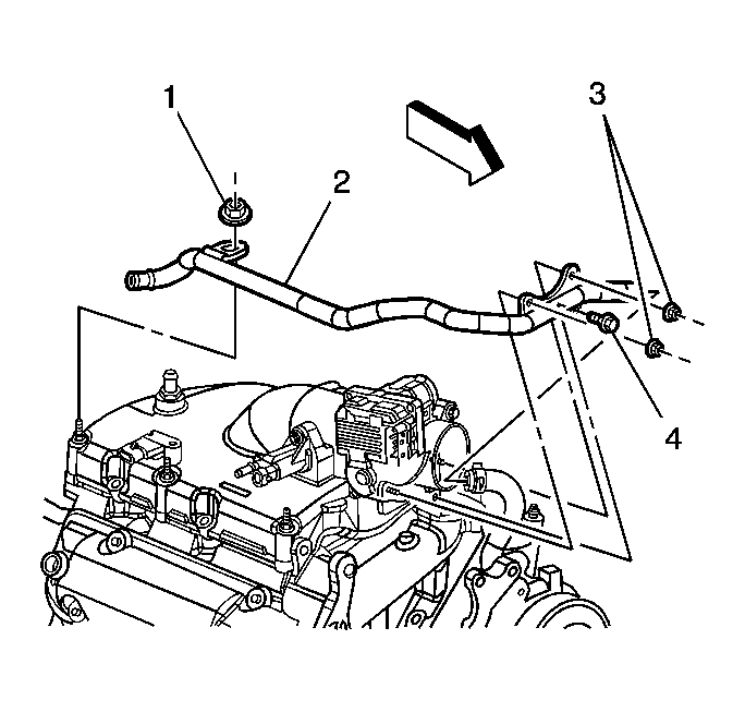
  5. Fig 2: View Of Heater Outlet Pipe, Nuts & Bolts
    GM1087631Courtesy of GENERAL MOTORS CORP.
  6. Install the nut (1) retaining the heater outlet pipe.

    Tighten:  Tighten the nut to 25 N.m (18 lb ft).

  7. Fig 3: View Of Ignition Control Module Bracket & Components
    GM1087898Courtesy of GENERAL MOTORS CORP.
  8. Install the engine wire harness retainers to the ignition control module bracket studs (5).
  9. Install the bolt (3) from the fuel injector wire harness bracket (4) and PCV valve fresh air tube retainer.

    Tighten:  Tighten the bolts to 5 N.m (44 lb in).

  10. Install the ignition coil/control module to the ignition control module bracket.
  11. Install the 4 bolts securing the ignition coil/control module to the ignition control module bracket.

    Tighten:  Tighten the bolts to 4.5 N.m (40 lb in).

  12. Install the spark plug wire retainer (1) to the ignition control module bracket.
  13. Connect the ignition coil/control module electrical connectors.
  14. Install the injector sight shield. Refer to Fuel Injector Sight Shield Replacement .