LEMON Manuals: Even more car manuals for everyone
Home >> Pontiac >> 2007 >> Solstice Base, Automatic >> Repair and Diagnosis >> External Pages >> Different car >> Section 27 (Wiring Systems And Power Management - Component Views & Component Connector End Views) >> Luggage Compartment/Rear of Vehicle Component Views

Luggage Compartment/Rear of Vehicle Component Views

WARNING: This page is about a different car, the 2008 Pontiac G5 and 2008 Chevrolet Cobalt. However, it is still accessible from the selected car via links, so may be relevant.
Fig 1: Rear Compartments And Shelf Components
GM1543935Courtesy of GENERAL MOTORS CORP.
Callout Component Name
1 G401 Coupe/Sedan
2 G402 Coupe
3 Digital Radio Receiver (U2K)
4 Vehicle Communication Interface Module (VCIM) (UE1)
5 G402 (Sedan)
6 Rear Window Shelf
7 Floor Pan
8 Rear Compartment Courtesy Light
9 Speaker - Left Rear
Fig 2: Floor Panel Components And Grounds
GM1543928Courtesy of GENERAL MOTORS CORP.
Callout Component Name
1 PRNDL Lamp
2 Floor Pan
3 A/T Shift Lock Control Solenoid (MN5)
4 Inflatable Restraint Sensing and Diagnostic Module (SDM)
5 G306
6 Park Brake Switch
7 G301
Fig 3: Rear Compartment Latch Assembly
GM1543931Courtesy of GENERAL MOTORS CORP.
Callout Component Name
1 Deck Lid
2 Rear Compartment Lid Release Actuator
Fig 4: Rear Floor Pan Components And G403
GM1549037Courtesy of GENERAL MOTORS CORP.
Callout Component Name
1 Battery
2 Fuse Holder 50A
3 Battery Current Sensor
4 G403
5 X400
6 Spare Tire Well
Fig 5: Rear Exterior Components (Coupe)
GM2035019Courtesy of GENERAL MOTORS CORP.
Callout Component Name
1 Marker Lamp - Left Rear (Coupe)
2 Tail/Stop and Turn Signal Lamp - Left (Coupe)
3 Backup Lamp - Left (Coupe)
4 Rear Window Defogger Grid
5 Fixed Antenna
6 Cellular/Digital Antenna (UE1/U2K)
7 Marker Lamp - Right Rear (Coupe)
8 Tail/Stop and Turn Signal Lamp - Right (Coupe)
9 Backup Lamp - Right (Cobalt Coupe)
10 License Lamp
11 Center High Mounted Stop Lamp (CHMSL)
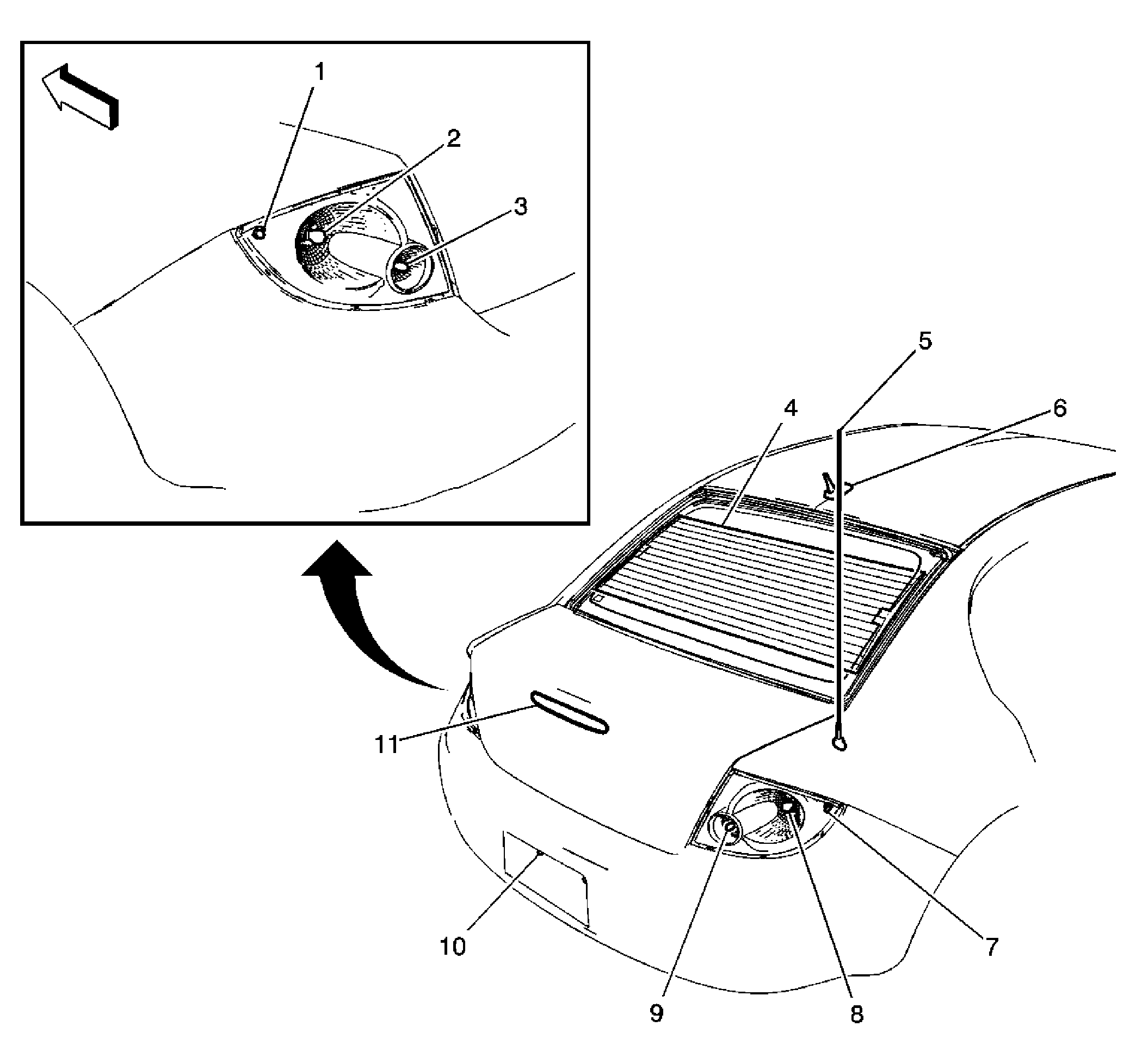
Fig 6: Rear Exterior Components (Sedan)
GM2035029Courtesy of GENERAL MOTORS CORP.
Callout Component Name
1 Marker Lamp - Left Rear (Sedan)
2 Tail/Stop and Turn Signal Lamp - Left (Sedan)
3 Backup Lamp - Left (Sedan)
4 Rear Window Defogger Grid
5 Fixed Antenna
6 Cellular/Digital Antenna (UE1/U2K)
7 Marker Lamp - Right Rear (Sedan)
8 Tail/Stop and Turn Signal Lamp - Right (Sedan)
9 Backup Lamp - Right ( Sedan)
10 License Lamp
11 Center High Mounted Stop Lamp (CHMSL)