LEMON Manuals: Even more car manuals for everyone
Home >> Pontiac >> 2007 >> Solstice Base, Automatic >> Repair and Diagnosis >> External Pages >> Different car >> Section 27 (Wiring Systems And Power Management - Component Views & Component Connector End Views) >> Component Connector End Views >> Speaker - Left Front Door Tweeter (UQ3)

Speaker - Left Front Door Tweeter (UQ3)

WARNING: This page is about a different car, the 2008 Pontiac G5 and 2008 Chevrolet Cobalt. However, it is still accessible from the selected car via links, so may be relevant.
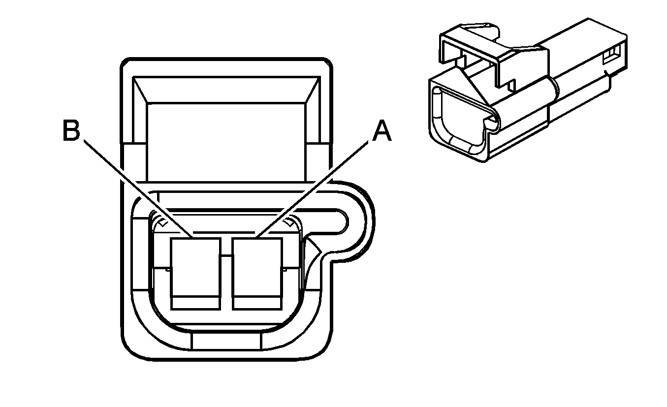
Fig 1: Speaker - Left Front Door Tweeter (UQ3) Connector End View
GM309396Courtesy of GENERAL MOTORS CORP.
Speaker - Left Front Door Tweeter (UQ3)

Pin Wire Circuit Function
A 0.35 GY 118 Left Front Speaker Output (-)
B 0.35 TN 201 Left Front Speaker Output (+)
Connector Part Information 
  • OEM: 12064870
  • Service: See Catalog
  • Description: 2-Way M Metri-Pack 150 Series (BU)
Terminal Part Information 
  • Terminal/Tray: See Terminal Repair Kit
  • Core/Insulation Crimp: See Terminal Repair Kit
  • Release Tool/Test Probe: See Terminal Repair Kit